EasyManua.ls Logo

Milnor 48040F7D - Cylinder and Bearing Installation MWF100, 4840 F

Milnor 48040F7D
135 pages
Print Icon
To Next Page IconTo Next Page
To Next Page IconTo Next Page
To Previous Page IconTo Previous Page
To Previous Page IconTo Previous Page
Loading...
Pellerin Milnor Corporation
BPWMEB01.R01 0000160806 A.3 A.2 11/17/17 3:10 PM In Work
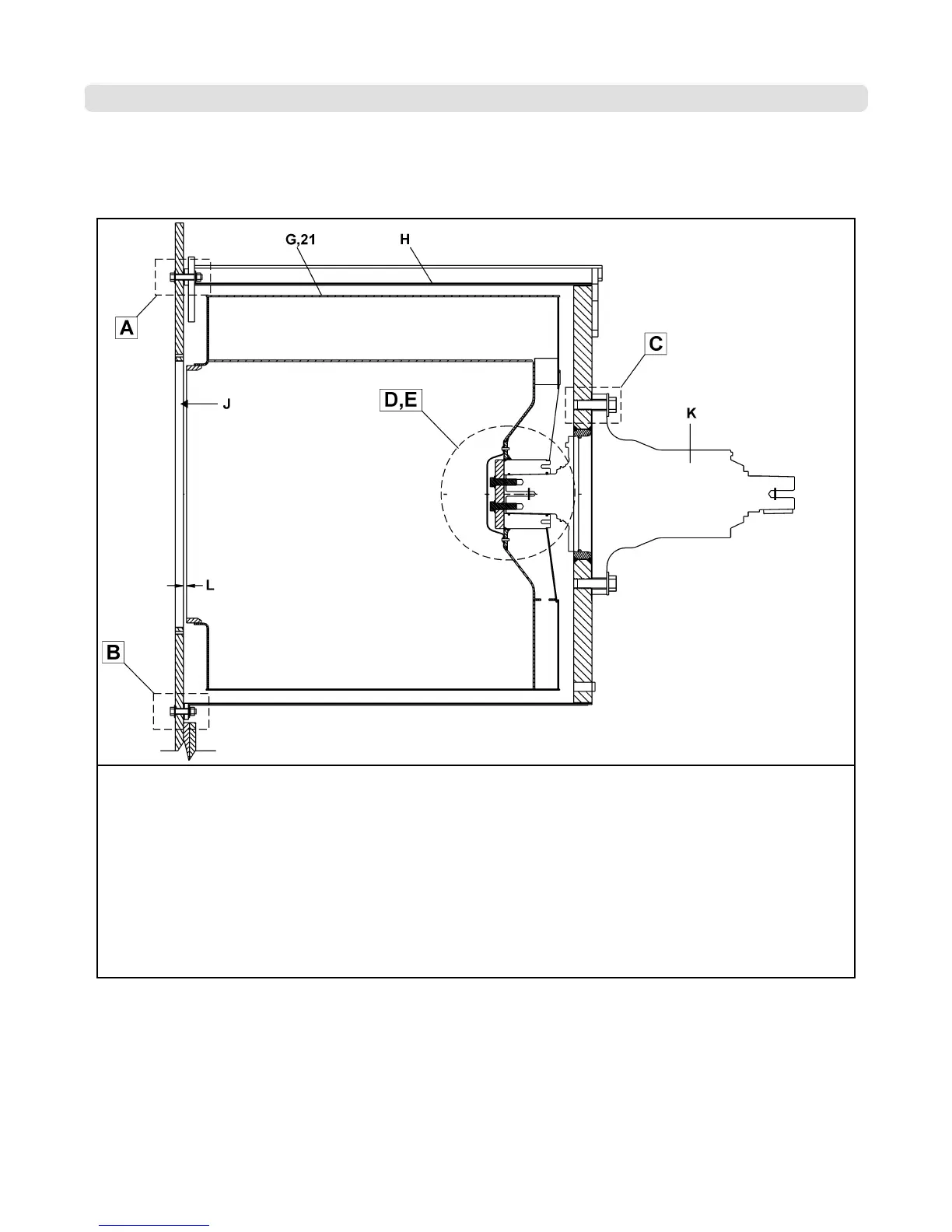
Figure 1. Cross section view
Legend
A. Detailed view Top connection between the shell front and the shell side sheet
B. Detailed view Bottom connection between the shell front and the shell side sheet
C. Detailed view Connection between the shell rear and the bearing housing
D. Detailed view Connection between the Pull-up plate and the Hub (outer bolts)
E. Detailed view Connection between the Pull-up plate and the Shaft (inner bolts)
G. Cylinder
H. Shell
J. Shell front
K. Bearing housing
L. This dimension must be in this range: 0.3125 inches [8mm] 0.375 [9.5mm].
Cylinder and Bearing Installation MWF100, 4840F
1 of 3
BPWMEB01 / 2017466A
BPWMEB01 0000160808 A.3 11/17/17 3:11 PM In Work
67

Table of Contents

Related product manuals