EasyManua.ls Logo

National Instruments NI 6323 - AI Convert Clock Timebase Signal; AI Hold Complete Event Signal

National Instruments NI 6323
299 pages
Print Icon
To Next Page IconTo Next Page
To Next Page IconTo Next Page
To Previous Page IconTo Previous Page
To Previous Page IconTo Previous Page
Loading...
Chapter 4 Analog Input
X Series User Manual 4-34 ni.com
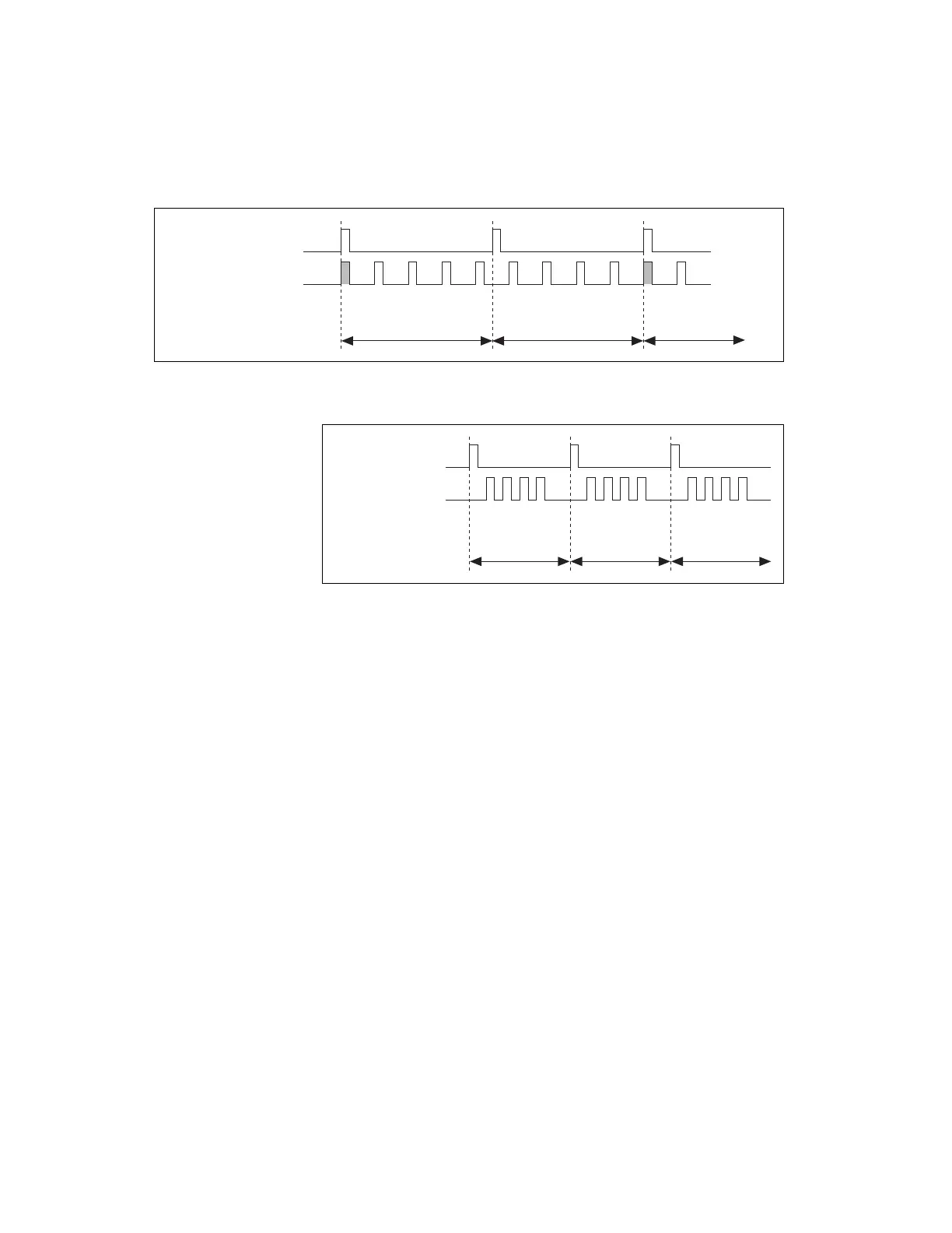
Figure 4-20. AI Sample Clock and AI Convert Clock Improperly Matched;
Leads to Aperiodic Sampling
Figure 4-21. AI Sample Clock and AI Convert Clock Properly Matched
AI Convert Clock Timebase Signal
The AI Convert Clock Timebase (ai/ConvertClockTimebase) signal is
divided down to provide one of the possible sources for AI Convert Clock.
Use one of the following signals as the source of AI Convert Clock Timebase:
AI Sample Clock Timebase
100 MHz Timebase
AI Convert Clock Timebase is not available as an output on the I/O
connector.
AI Hold Complete Event Signal
The AI Hold Complete Event (ai/HoldCompleteEvent) signal generates
apulse after each A/D conversion begins. You can route AI Hold Complete
Event out to any PFI <0..15>, RTSI <0..7>, or PXIe-DSTARC terminal.
The polarity of AI Hold Complete Event is software-selectable, but is
typically configured so that a low-to-high leading edge can clock external
AI multiplexers indicating when the input signal has been sampled and can
be removed.
AI Sample Clock
AI Convert Clock
Sample #1 Sample #2 Sample #3
1 2 3 0
0
Channel Measured
1 2 3 0
AI Sample Clock
AI Convert Clock
Sample #1 Sample #2 Sample #3
Channel Measured 1 2 3 0
1 2 3 0 1 2 3 0
Artisan Technology Group - Quality Instrumentation ... Guaranteed | (888) 88-SOURCE | www.artisantg.com

Table of Contents

Related product manuals