EasyManua.ls Logo

National Instruments NI 6323 - Page 85

National Instruments NI 6323
299 pages
Print Icon
To Next Page IconTo Next Page
To Next Page IconTo Next Page
To Previous Page IconTo Previous Page
To Previous Page IconTo Previous Page
Loading...
Chapter 4 Analog Input
© National Instruments 4-39 X Series User Manual
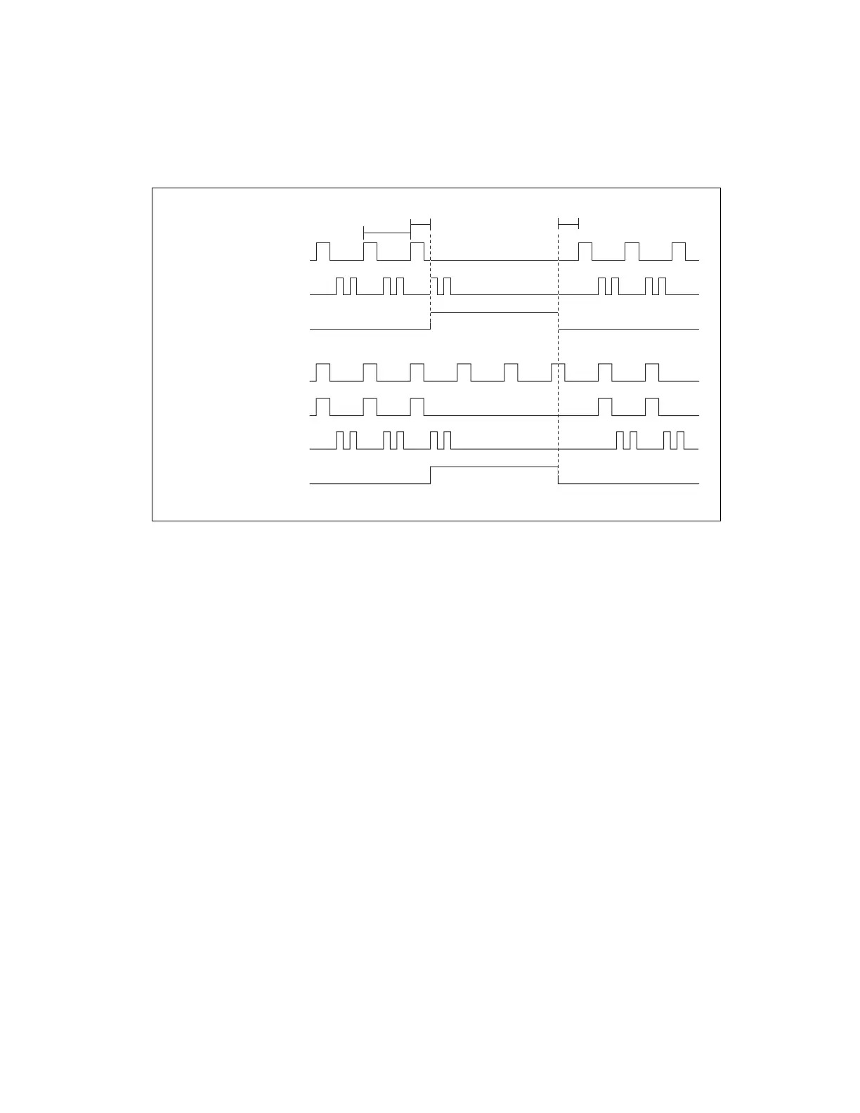
Figure 4-24. Halt (Internal Clock) and Free Running (External Clock)
Using a Digital Source
To use AI Pause Trigger, specify a source and a polarity. The source can be
any of the following signals:
PFI <0..15>
•RTSI <0..7>
•PXI_STAR
PXIe-DSTAR<A,B>
•Counter n Internal Output
•Counter n Gate
•AO Pause Trigger (ao/PauseTrigger)
DO Pause Trigger (do/PauseTrigger)
•DI Pause Trigger (di/PauseTrigger)
The source also can be one of several other internal signals on your DAQ
device. Refer to Device Routing in MAX in the NI-DAQmx Help or the
LabVIEW Help for more information.
AI Sample Clock
AI Convert Clock
AI Pause Trigger
T
A
AI External Sample Clock
AI Convert Clock
AI Pause Trigger
Halt. Used on Internal Clock
Free Running. Used on External Clock
T – A
AI Sample Clock
Artisan Technology Group - Quality Instrumentation ... Guaranteed | (888) 88-SOURCE | www.artisantg.com

Table of Contents

Related product manuals