EasyManua.ls Logo

NEC MultiSync V520 - Horizontal Drive and Power Supply Output

NEC MultiSync V520
104 pages
Print Icon
To Next Page IconTo Next Page
To Next Page IconTo Next Page
To Previous Page IconTo Previous Page
To Previous Page IconTo Previous Page
Loading...
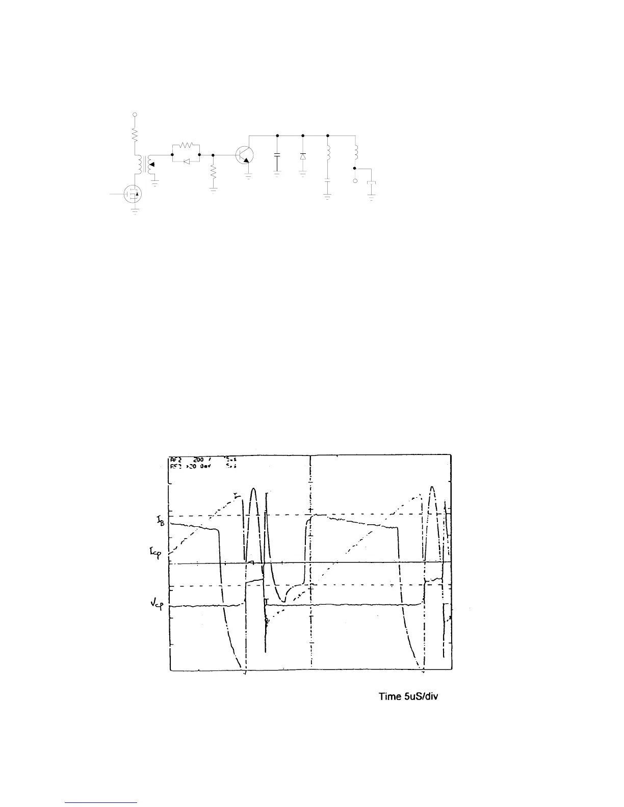
7. Horizontal drive and power supply output
Circuit Diagram
Description of the circuit:
1) R1, T1 and Q2 compose the horizontal driving circuit, and the transistor Q1 generates a horizontal
output through the driving signal.
IB1 = I
CPMAX
/ Q1h
feMIN
I
B2
¡Ü¡Ü
¡Ü¡Ü
¡Ü 3I
B1
di/dt
¡Ü¡Ü
¡Ü¡Ü
¡Ü 3.3 A/US
2) The resistor R2 corrects the current IB1, the resistor R3 works as a damping resistor and leak
resistor, and the diode D2 works as a discharging device and polar body.
As long as the transistor Q1 is OFF, the discharge is accelerated and the storage time (Tstg) is
shortened.
3)H-OUT circuit waveform
VCC
T1
R2
D2
R1
Q2
R3
Q1
CT
D1
DR
CS
B+
C2
+
63

Table of Contents

Other manuals for NEC MultiSync V520

Related product manuals