EasyManua.ls Logo

Omron RX - Page 239

Omron RX
414 pages
Print Icon
To Next Page IconTo Next Page
To Next Page IconTo Next Page
To Previous Page IconTo Previous Page
To Previous Page IconTo Previous Page
Loading...
4-134
4-3 Functions When PG Option Board (3G3AX-PG01) Is Used
4
Functions
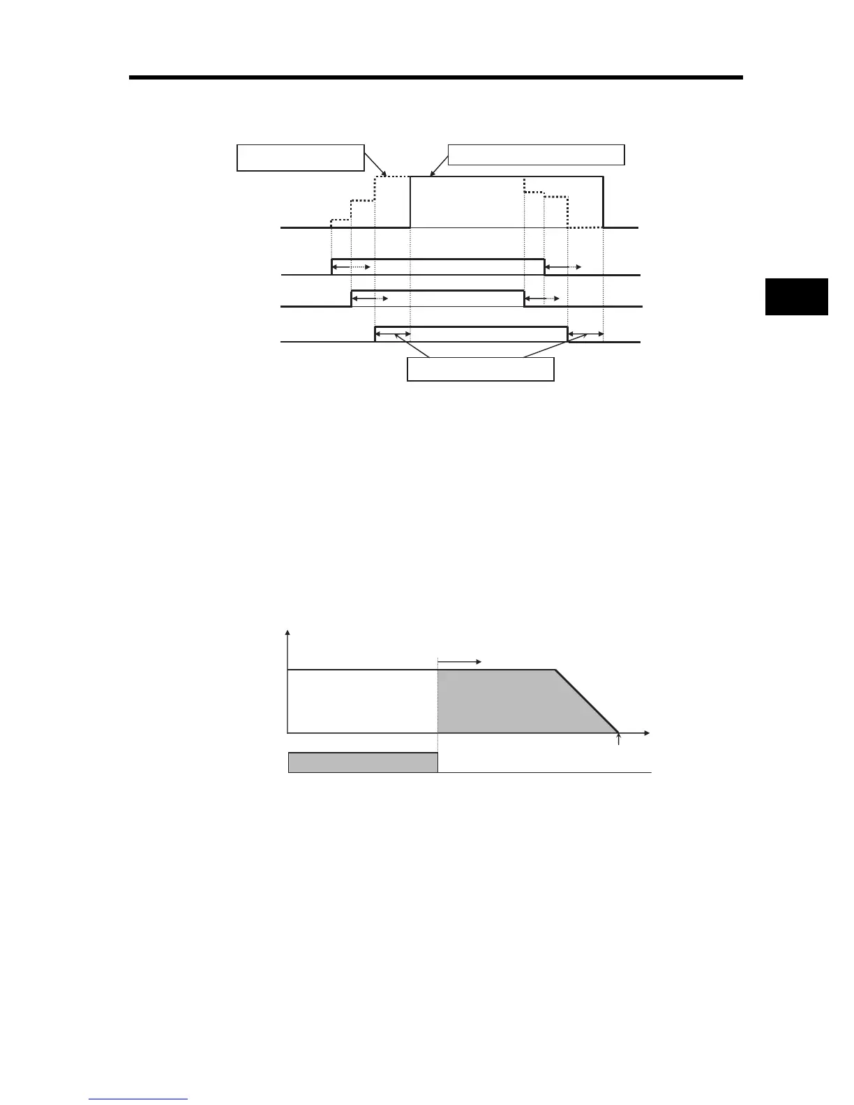
You can adjust the determination time in multi-step speed/position determination time C169. If no
input is made during the time set in C169, the data is determined after the set time elapses. (Note
that the longer the determination time, the slower the input response.)
Speed/Position Switching Function (SPD)
Allocate 73 (SPD) to one of the multi-function inputs.
While the SPD terminal is turned on, the current position counter is retained at "0". Therefore, if the
SPD terminal is turned off during operation, the Inverter shifts to the position control mode. (Speed/
Position switching)
At this time, if the position command is "0", the Inverter immediately stops.
(Hunting may occur, depending on the position loop gain setting.)
While the SPD terminal is turned on, the Inverter runs in the direction based on the RUN command.
When shifting from speed control to position control, be careful about the polarity sign of the RUN
command.
Determination time (C169)
CP1
CP2
CP3
Position command
With determination time (C169)
4
1
5
3
Without determination
time (C169)
7
Position controlSpeed control
ON
Output frequency
SPD terminal
Time
Target position
Position count started

Table of Contents

Related product manuals