EasyManua.ls Logo

Omron RX - Wiring; Standard Connection Diagram

Omron RX
414 pages
Print Icon
To Next Page IconTo Next Page
To Next Page IconTo Next Page
To Previous Page IconTo Previous Page
To Previous Page IconTo Previous Page
Loading...
2-6
2-2 Wiring
2
Design
2-2 Wiring
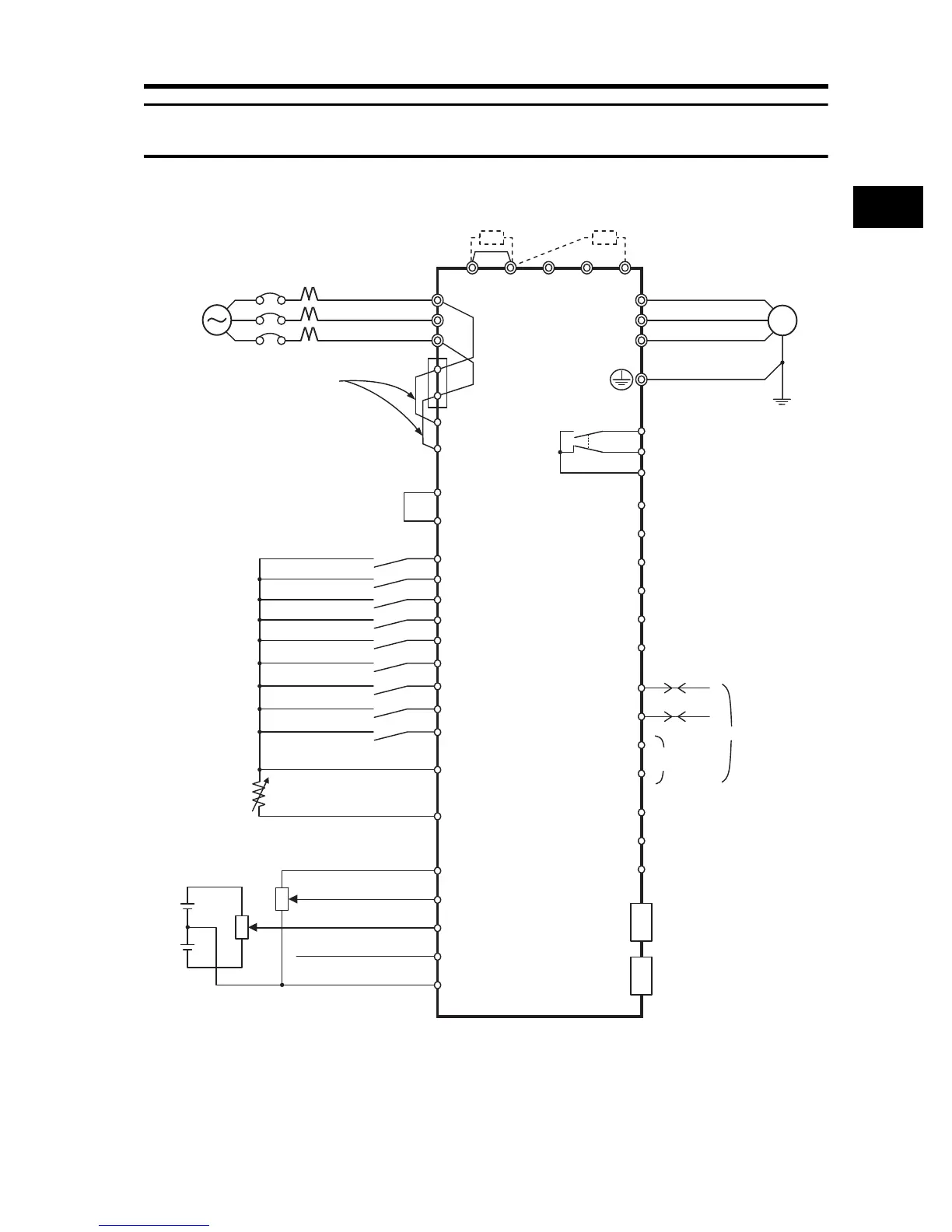
Standard Connection Diagram
DC reactor
(optional)
3-phase 200 V AC
3-phase 400 V AC
Multi-function input 1
Multi-function input 2
Multi-function input 3
Multi-function input 4
Multi-function input 5
Multi-function input 6
Multi-function input 7
Multi-function input 8
Frequency reference power supply
Frequency setting unit
500 to 2 kΩ
Frequency reference input (voltage)
Frequency reference auxiliary input (voltage)
Frequency reference input (current)
Frequency reference common
Sequence input common
M
R/L1
PD/+1 P/+
Braking resistor
(optional)
RBN/-
T/L3
R
T
Ro
To
S/L2
U/T1
W/T3
12 Multi-function output 2
13 Multi-function output 3
14 Multi-function output 4
15 Multi-function output 5
CM2
SP
SN
RP
SN
AM
AMI
FM
Option 1
Option 1
Multi-function output common
11 Multi-function output 1
Relay output *1
Common
V/T2
1
FW
P24
CM1
4
PLC
Thermistor
TH
H
OI
L
O
O2
3
2
5
RS485 communication
6
7
8
Short-circuit
wire
To wire the control circuit power
supply and main circuit power
supply separately, be sure to
remove the J51 connector
wire first.
Control circuit
power supply
J51
For termination
resistors
Analog monitor output
(voltage output)
Analog monitor output
(current output)
Digital monitor output
(PWM output)
AL1
AL2
AL0

Table of Contents

Related product manuals