EasyManua.ls Logo

Omron SYSDRIVE 3G3EV-A-CUE - Standard Connection Diagram

Omron SYSDRIVE 3G3EV-A-CUE
55 pages
Print Icon
To Next Page IconTo Next Page
To Next Page IconTo Next Page
To Previous Page IconTo Previous Page
To Previous Page IconTo Previous Page
Loading...
3-10
D Output Terminals (On Right-hand Side)
Terminal
symbol
Name and description Interface
PA Multi-function photocoupler output (see note)
PC Multi-function photocoupler output (common)
50 mA at 48 VDC max.
Note Constant No. 10 (n10) is used to set this function. This constant is factory-set to “fault.”
The standard model does not have multi-function photocoupler output.
D Analog Output Terminals (On Right-hand Side)
Terminal
symbol
Name and description Interface
AM Multi-function analog output (see note)
AC Multi-function analog output (common)
2 mA at
0 to +10 VDC max.
Note Constant No. 44 (n44) is used to set this function and constant No. 45 (n45) is used to set the
multiplying factor, which are factory-set to “output frequency” and “3V at maximum frequency”
respectively.
The standard model does not have analog output.
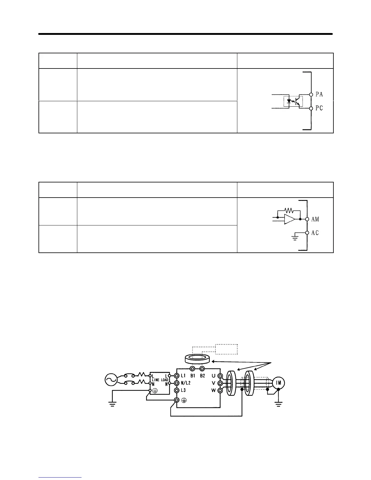
H Standard Connection Diagram
D Main Circuit Terminal Connections
Three-phase,
200 VAC
Single-phase,
200 VAC
Three-phase,
400 VAC
Circuit
breaker
Noise Filter
Braking Unit (Optional)
Clamp core
Note 1. Three-phase 200 VAC (400 VAC) can be input to L1, L2, and L3.
Note 2. For the 400-VAC-class Inverter, be sure to ground the supply neutral.
Design Chapter 3

Related product manuals