EasyManua.ls Logo

Omron V680-CA5D01-V2 - Page 137

Omron V680-CA5D01-V2
274 pages
To Next Page IconTo Next Page
To Next Page IconTo Next Page
To Previous Page IconTo Previous Page
To Previous Page IconTo Previous Page
Loading...
134
SECTION 5
V680 Commands
RFID System
User’s Manual
SECTION 5
Communications
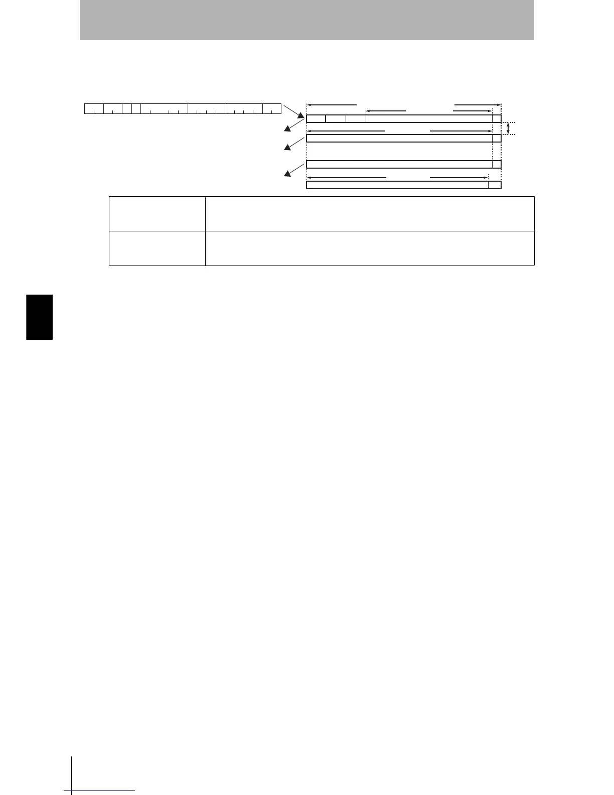
Response When the Read Data Consists of More Than 2,048 Characters
UID A unique identifier used to identify Tags.
In the case of multi-access communications designations (MT/MR), the UID of the Tag that is
being written to is added to the data.
Read data The data read from the Tag.
The number of characters will be the same as the specified number of bytes to read for ASCII
data and twice that number for hexadecimal data.
2,055 characters max. per frame
2,048 characters
ER
CR
CR
CR
*CR
10
Read data 1
00
2,048 characters
Read data 2
Read data (n-1)
2,048 characters
Read data n
Communications
designation
Read area start
address
No. of bytes to
read
ER
A/H 1/2
* CR
UID
:
Frame 1
Frame 2
Frame
(n-1)
Frame n
20 ms
Host device
ID Controller

Other manuals for Omron V680-CA5D01-V2

Related product manuals