EasyManua.ls Logo

Omron V680-CA5D01-V2 - Page 194

Omron V680-CA5D01-V2
274 pages
Print Icon
To Next Page IconTo Next Page
To Next Page IconTo Next Page
To Previous Page IconTo Previous Page
To Previous Page IconTo Previous Page
Loading...
191
RFID System
User’s Manual
SECTION 5
V600 Commands
SECTION 5
Communications
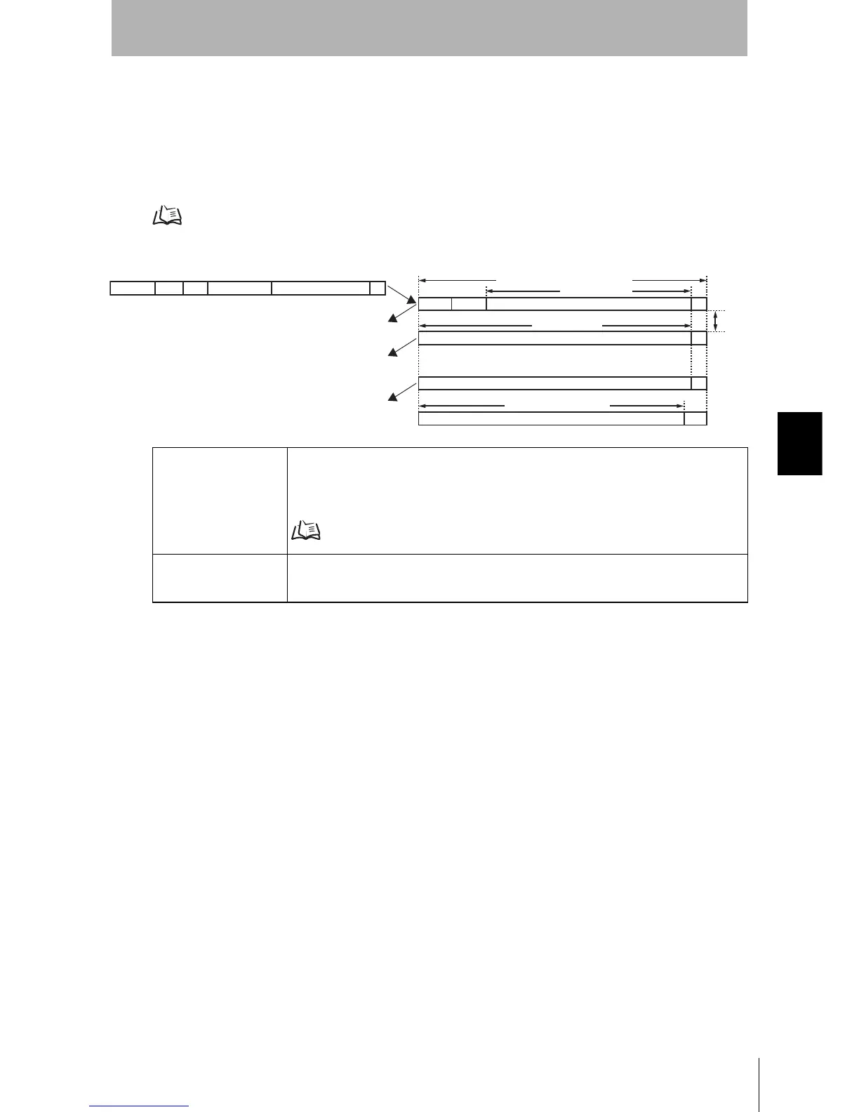
Responses Longer Than 245 Characters
If the response containing the read data is longer than 245 characters, the response is divided into
multiple frames as shown below. Only the final response frame ends in a terminator (*CR). All other
frames end in a delimiter (CR).
By default, each response frame is separated by 20 ms. The interval between frames can be changed
using the PARAMETER SET (SP) command.
p. 230
End code Indicates the execution result for the command.
“00” indicates a normal end.
Refer to List of End Codes for information on other end codes.
p. 235
Read data The data read from the Tag.
The number of characters will be the same as the specified number of bytes to read for ASCII
data and twice that number for hexadecimal data.
Host device
ID Controller
ER
CR
CR
CR
CR
00
245 characters max. per frame
240 characters
240 characters
Read data 1
240 characters or less
Read data 2
Read data (n-1)
Read data n
*
*CR
A/H 1/2ER
Start address No. of read bytes
:
Frame 1
Frame 2
Frame
(n-1)
Frame n
20 m
s