EasyManua.ls Logo

Onkyo TX-SR674/674E

Onkyo TX-SR674/674E
92 pages
To Next Page IconTo Next Page
To Next Page IconTo Next Page
To Previous Page IconTo Previous Page
To Previous Page IconTo Previous Page
Loading...
24
Connecting the AV Receiver—Continued
With connection , you can listen to and record audio from your TV and listen in Zone 2.
To enjoy Dolby Digital and DTS, use connection or . (For recording, use and , or and .)
If your TV has no audio outputs, connect an audio output from your VCR or cable or satellite receiver
to the AV receiver and use its tuner to listen to TV programs through the AV receiver (see pages 27 and
29).
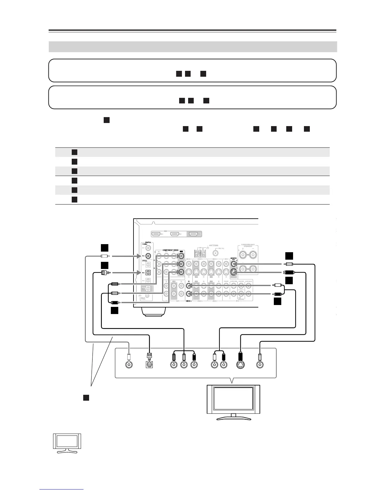
Connecting Your TV or Projector
Connection AV receiver Signal ow TV Picture quality
COMPONENT VIDEO OUT
Component video input Best
MONITOR OUT S
S-Video input Better
MONITOR OUT V
Composite video input Standard
VIDEO 3 IN L/R
Analog audio L/R output
DIGITAL COAXIAL IN 2
Digital coaxial output
DIGITAL OPTICAL IN 2
Digital optical output
Step 1: Video Connection
Choose a video connection that matches your TV ( , , or ), and then make the connection.
A B
C
Step 2: Audio Connection
Choose an audio connection that matches your TV ( , , or ), and then make the connection.
a b c
a
b
c
a
b
a c
A
B
C
a
b
c
YCOAXIAL
OUT
PB
COMPONENT VIDEO IN
P
R S VIDEO
IN
AUDIO
OUT
VIDEO
IN
LR
OPTICAL
OUT
b
c
A
B
C
B
a
C
TV, projector,
etc.
Connect one or the other
Connection must be assigned (see page 44)
b
Hint!

Table of Contents

Related product manuals