EasyManua.ls Logo

Onkyo TX-SR703

Onkyo TX-SR703
104 pages
To Next Page IconTo Next Page
To Next Page IconTo Next Page
To Previous Page IconTo Previous Page
To Previous Page IconTo Previous Page
Loading...
31
Connecting Your Components
—Continued
•With connection , you can listen to and record audio from the video source and listen in Zone 2.
•To enjoy Dolby Digital and DTS, use connection or . (For recording, use and , or and .)
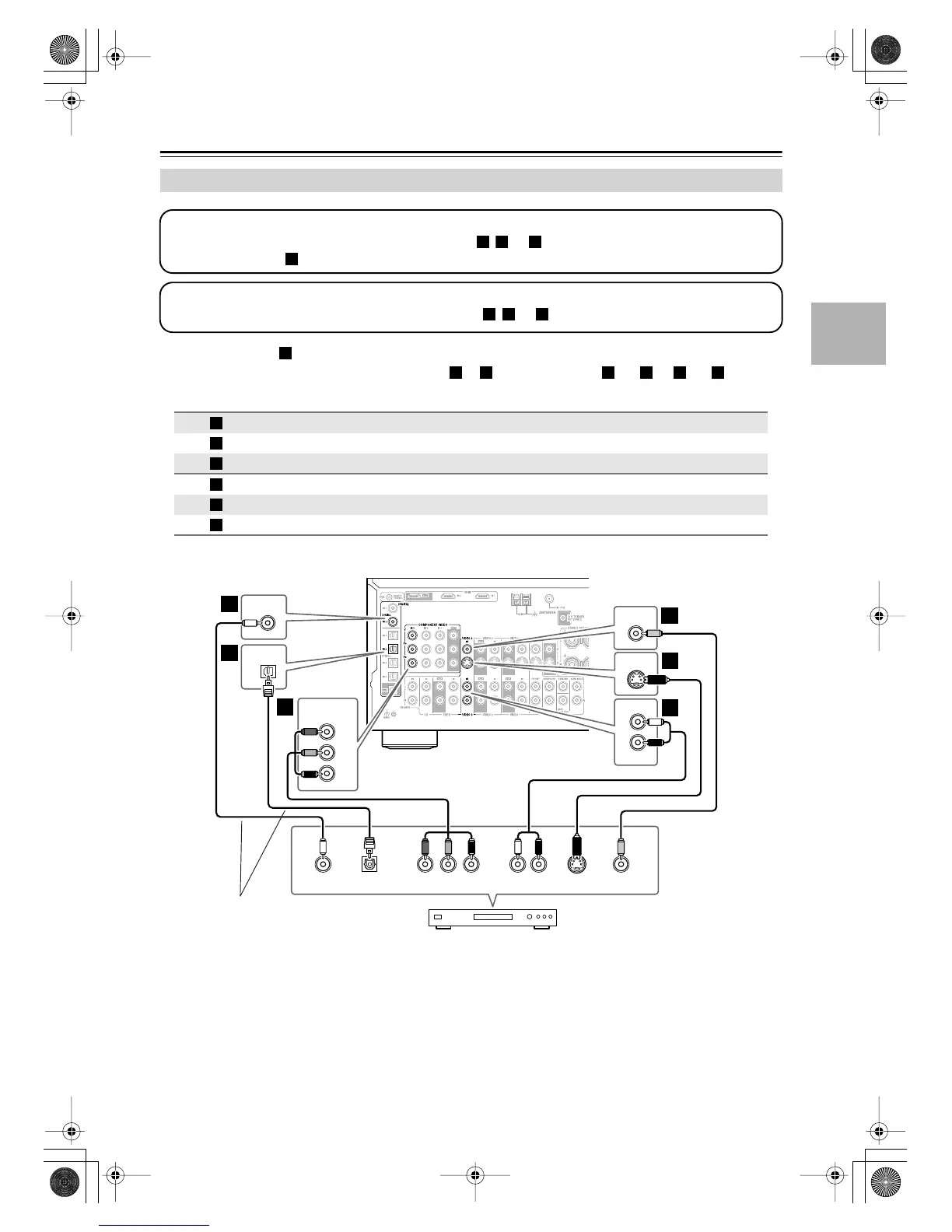
Connecting a Satellite, Cable, Set-top box, or Other Video Source
Connection AV receiver Signal flow Video source Picture quality
COMPONENT VIDEO 3 IN
Component video output Best
VIDEO 3 IN S
S-Video output Better
VIDEO 3 IN V
Composite video output Standard
VIDEO 3 IN L/R
Analog audio L/R output
DIGITAL COAXIAL IN 2
Digital coaxial output
DIGITAL OPTICAL IN 2
Digital optical output
Step 1: Video Connection
Choose a video connection that matches the video source ( , , or
), and then make the connection.
If you use connection , you must connect the AV receiver to your TV with the same type of connection.
A
B
C
A
Step 2: Audio Connection
Choose an audio connection that matches the video source ( , , or ), and then make the connection.
a b c
a
b c a b a c
A
B
C
a
b
c
COAXIAL
IN 2
YCOAXIAL
OUT
PB
COMPONENT VIDEO OUT
P
R S VIDEO
OUT
AUDIO
OUT
VIDEO
OUT
VIDEO 3
IN
V
S
VIDEO 3
IN
LR
OPTICAL
OUT
OPTICAL
IN 2
Y
P
B
PR
COMPONENT VIDEO
IN 3
L
R
IN
VIDEO 3
b
c
A
B
C
B
a
C
Satellite, cable, set-top box, etc.
Connect one
or the other
TX-SR803En.book Page 31 Friday, August 26, 2005 9:26 AM

Table of Contents

Other manuals for Onkyo TX-SR703

Related product manuals