EasyManua.ls Logo

Onkyo TX-SR705

Onkyo TX-SR705
228 pages
To Next Page IconTo Next Page
To Next Page IconTo Next Page
To Previous Page IconTo Previous Page
To Previous Page IconTo Previous Page
Loading...
Es-27
Conectar el receptor AV—Continúa
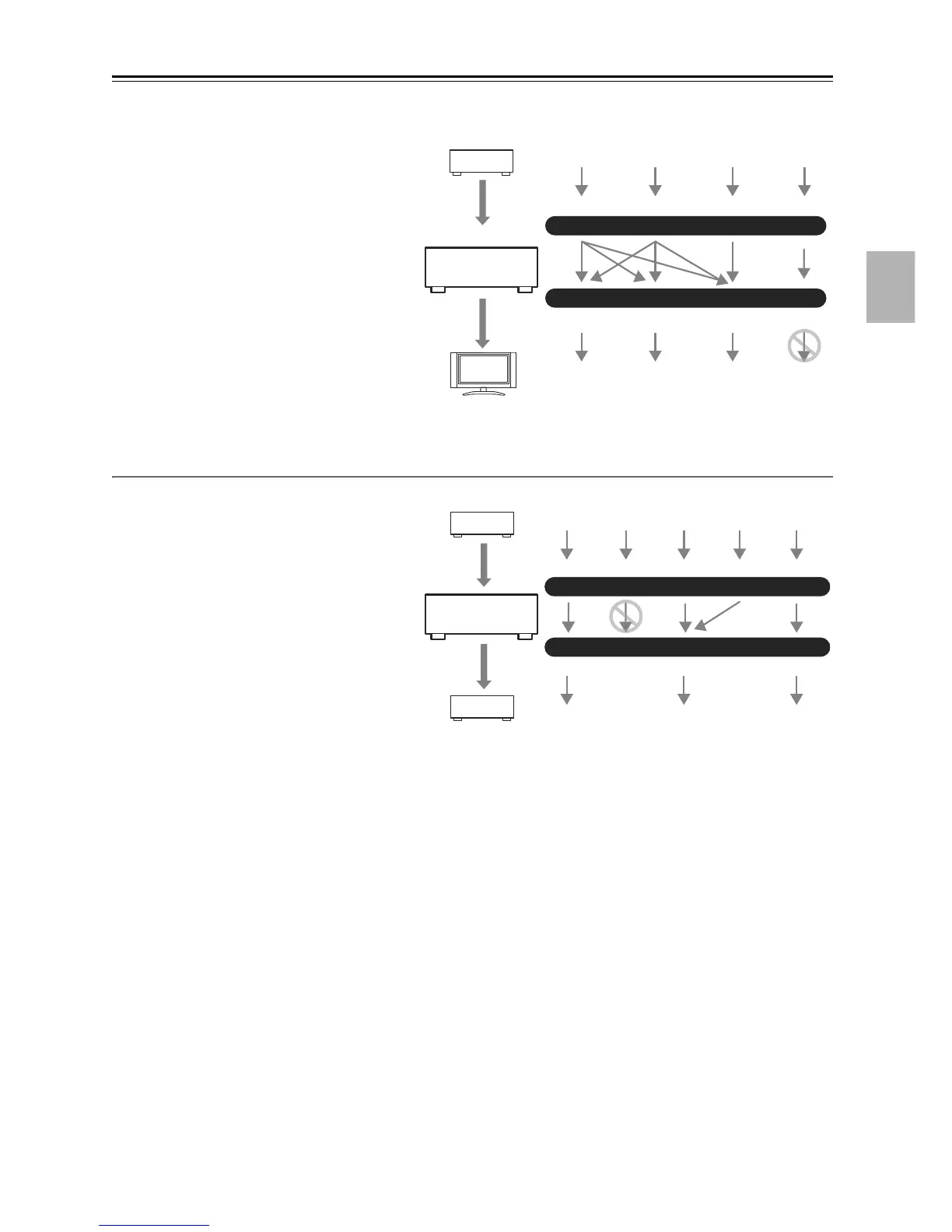
Configuración de HDMI Monitor establecida en No
Si la configuración de HDMI Monitor está
establecida en No (consulte la página 46), las
señales de entrada de vídeo pasan por el receptor
AV tal y como se indica, y las fuentes de vídeo
compuesto y S-Video se sobreconvierten para
salir en formato de vídeo componentes. Utilice
esta configuración en el caso de que conecte la
salida COMPONENT VIDEO OUT del receptor
AV al televisor.
El vídeo compuesto se sobreconvierte a S-Video,
y el S-Video se subconvierte a vídeo compuesto.
Tenga en cuenta que estas conversiones sólo
atañen a las salidas MONITOR OUT V y S, no a
las salidas VCR/DVR OUT V y S.
Las salidas de vídeo compuesto, S-Video, y
vídeo componentes pasan por sus respectivas
señales de entrada sin variaciones.
Formatos de conexión de audio
El equipo de audio se puede conectar al receptor
AV usando cualquiera de los siguientes formatos
de conexión de audio: analógico, óptico, coaxial,
analógico multicanal, o HDMI.
A la hora de elegir un formato de conexión, tenga
en cuenta que el receptor AV no convierte señales
de entrada digital en salidas de línea analógica y
viceversa. Por ejemplo, las señales de audio
conectadas a una entrada óptica o digital coaxial
no se emiten por la salida analógica TAPE OUT.
IN
MONITOR OUT
Reproductor de
DVD, etc.
Receptor AV
Televisor,
proyector, etc.
Compuesto
Compuesto
S-Video
S-Video
Componente
Componente
Gráfico de flujo de señales de vídeo
HDMI
HDMI
IN
OUT
Reproductor de
DVD, etc.
Receptor AV
Grabador de MD, etc.
HDMICoaxial
Analógico
Gráfico de flujo de señales de audio
Multicanal
Óptico
Óptico Analógico HDMI

Table of Contents

Other manuals for Onkyo TX-SR705

Related product manuals