EasyManua.ls Logo

Onkyo TX-SR705

Onkyo TX-SR705
228 pages
To Next Page IconTo Next Page
To Next Page IconTo Next Page
To Previous Page IconTo Previous Page
To Previous Page IconTo Previous Page
Loading...
Fr-28
Branchement de l’ampli-tuner AV—Suite
Avec un branchement , vous pouvez écouter et enregistrer les données audio venant de votre téléviseur et les
écouter dans la Zone 2.
Pour profiter du son Dolby Digital et DTS, utilisez un branchement ou . (Pour l’enregistrement, utilisez
et , ou et .)
Si votre téléviseur ne dispose pas de sorties audio, branchez une sortie audio de votre magnétoscope
ou tuner satellite/câble à l’ampli-tuner AV et utilisez son tuner pour écouter les programmes de
télévision par l’ampli-tuner AV (voir pages 31 et 33).
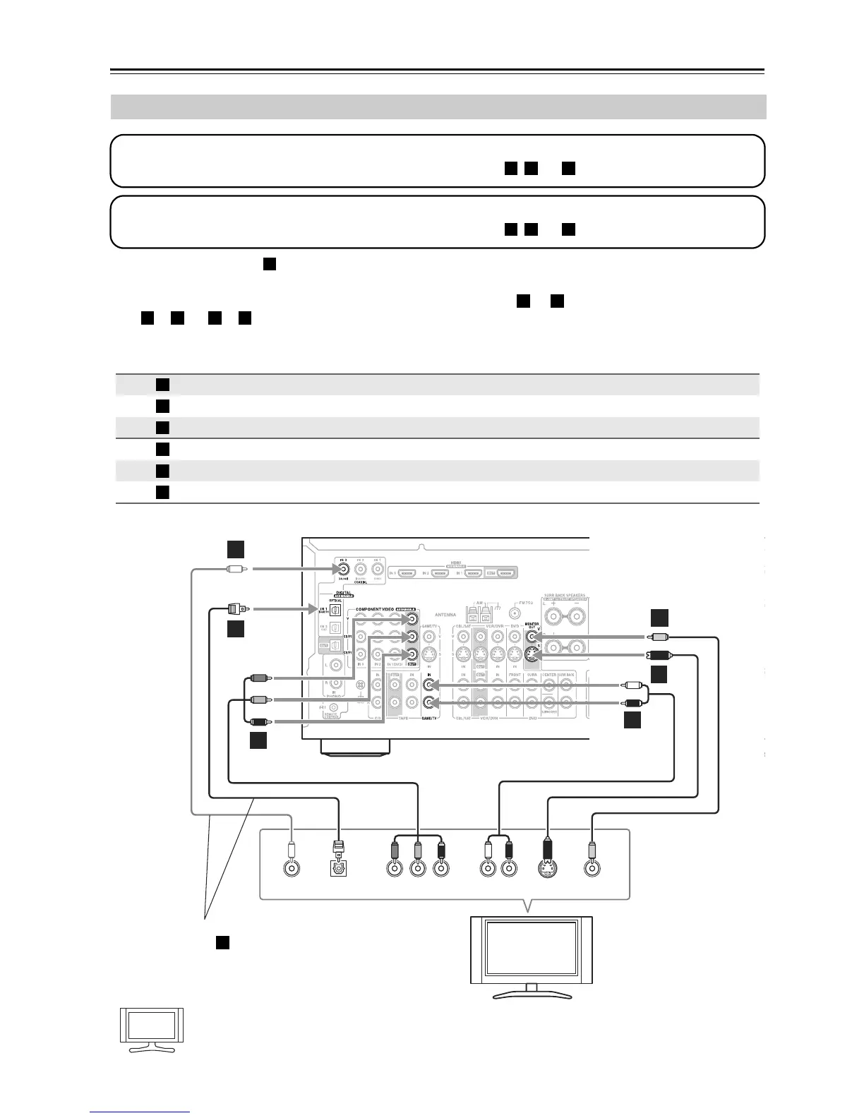
Raccordement d’un téléviseur ou d’un projecteur
Branchement Ampli-tuner AV
Flux du
signal TV
Qualité de
l’image
COMPONENT VIDEO OUT
Entrée vidéo composantes Meilleure qualité
MONITOR OUT S
Entrée S-vidéo Bonne qualité
MONITOR OUT V
Entrée vidéo composite Standard
GAME/TV IN L/R
Sortie analogique audio L/R
DIGITAL COAXIAL IN 3 (CBL/SAT)
Sortie numérique coaxiale
DIGITAL OPTICAL IN 1 (GAME/TV)
Sortie numérique optique
Point 1 : branchement vidéo
Sélectionnez un branchement vidéo correspondant à votre téléviseur ( , , ou ), puis effectuez le branchement.
A B C
Point 2 : branchement audio
Sélectionnez un branchement audio correspondant à votre téléviseur ( , , ou ), puis effectuez le branchement.
a b c
a
b c
a b a c
A
B
C
a
b
c
YCOAXIAL
OUT
P
B
COMPONENT VIDEO IN
P
R
S VIDEO
IN
AUDIO
OUT
VIDEO
IN
LR
OPTICAL
OUT
b
c
A
B
C
B
a
C
Téléviseur,
projecteur,
etc.
Utilisez l’une des deux prises
Le branchement doit être attribué (voir page 50)
b
Remarque !

Table of Contents

Other manuals for Onkyo TX-SR705

Related product manuals