EasyManua.ls Logo

Onkyo TX-SR705

Onkyo TX-SR705
228 pages
To Next Page IconTo Next Page
To Next Page IconTo Next Page
To Previous Page IconTo Previous Page
To Previous Page IconTo Previous Page
Loading...
Es-28
Conectar el receptor AV—Continúa
Con la conexión , puede escuchar y grabar sonido en su televisor y escucharlo en la Zona 2.
Para disfrutar de Dolby Digital y DTS, use la conexión o . (Para grabar, use y , o y .)
Si su televisor no tiene salidas de audio, conecte una salida de audio de su VCR o receptor de satélite
o cable al receptor AV y use su sintonizador para escuchar los programas de televisión mediante el
receptor AV (consulte las páginas 31 y 33).
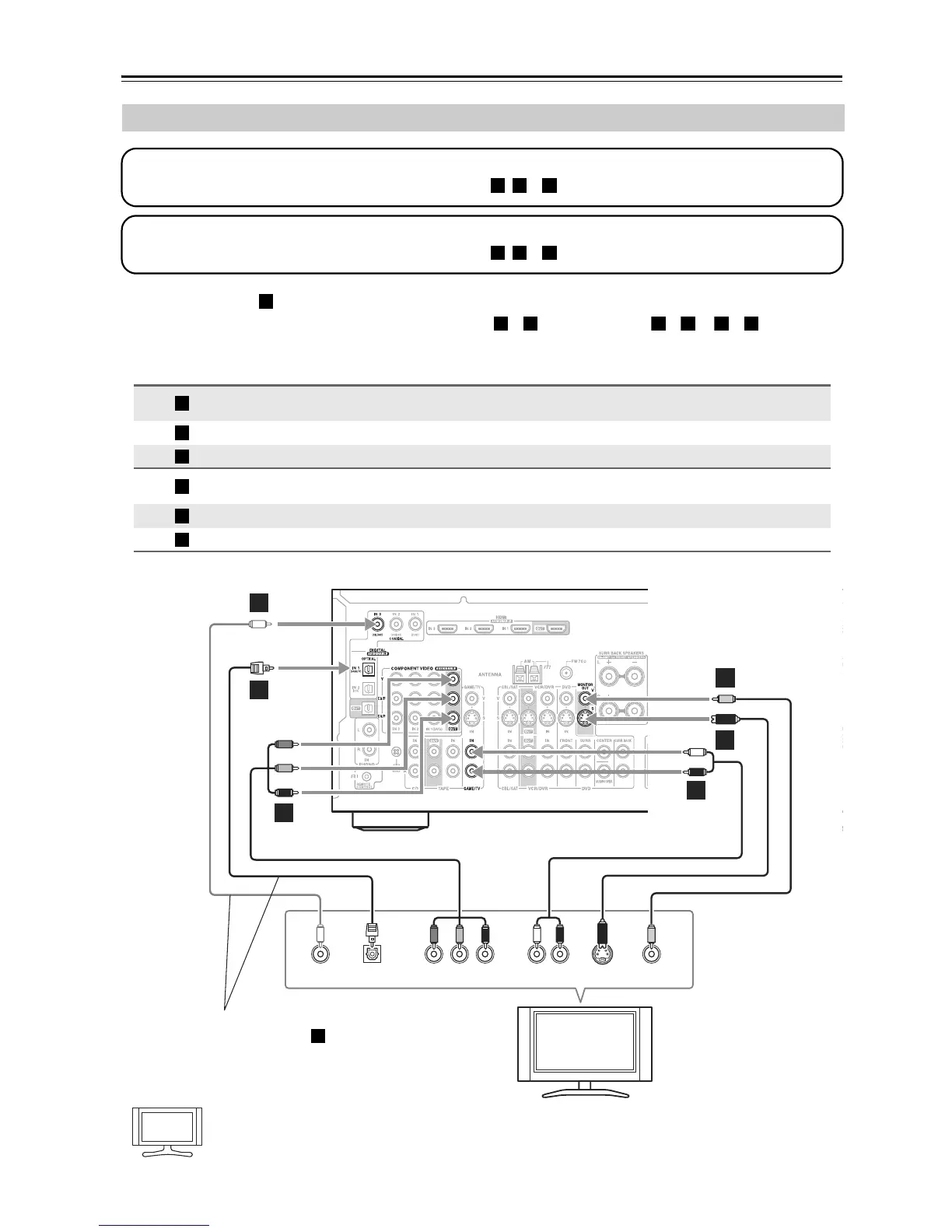
Conectar un televisor o proyector
Conexión Receptor AV
Flujo de
señal TV
Calidad de
imagen
COMPONENT VIDEO OUT
Entrada vídeo
componente
La mejor
MONITOR OUT S
Entrada S-Vídeo Mejor
MONITOR OUT V
Entrada vídeo compuesto Estándar
GAME/TV IN L/R
Salida L/R audio
analógico
DIGITAL COAXIAL IN 3 (CBL/SAT)
Salida coaxial digital
DIGITAL OPTICAL IN 1 (GAME/TV)
Salida óptica digital
Paso 1: conexión de vídeo
Elija una conexión de vídeo que coincide con su televisor ( , o ), y a continuación haga la conexión.
A B C
Paso 2: conexión de audio
Elija una conexión de vídeo que coincida con su televisor ( , o ), y a continuación haga la conexión.
a b c
a
b c a b a c
A
B
C
a
b
c
YCOAXIAL
OUT
P
B
COMPONENT VIDEO IN
P
R
S VIDEO
IN
AUDIO
OUT
VIDEO
IN
LR
OPTICAL
OUT
b
c
A
B
C
B
a
C
Televisor,
proyector, etc.
Conectar uno de los dos
Se debe asignar la conexión (consulte la
página 50)
b
¡Sugerencia!

Table of Contents

Other manuals for Onkyo TX-SR705

Related product manuals