EasyManua.ls Logo

Onkyo TX-SR705

Onkyo TX-SR705
228 pages
To Next Page IconTo Next Page
To Next Page IconTo Next Page
To Previous Page IconTo Previous Page
To Previous Page IconTo Previous Page
Loading...
Fr-27
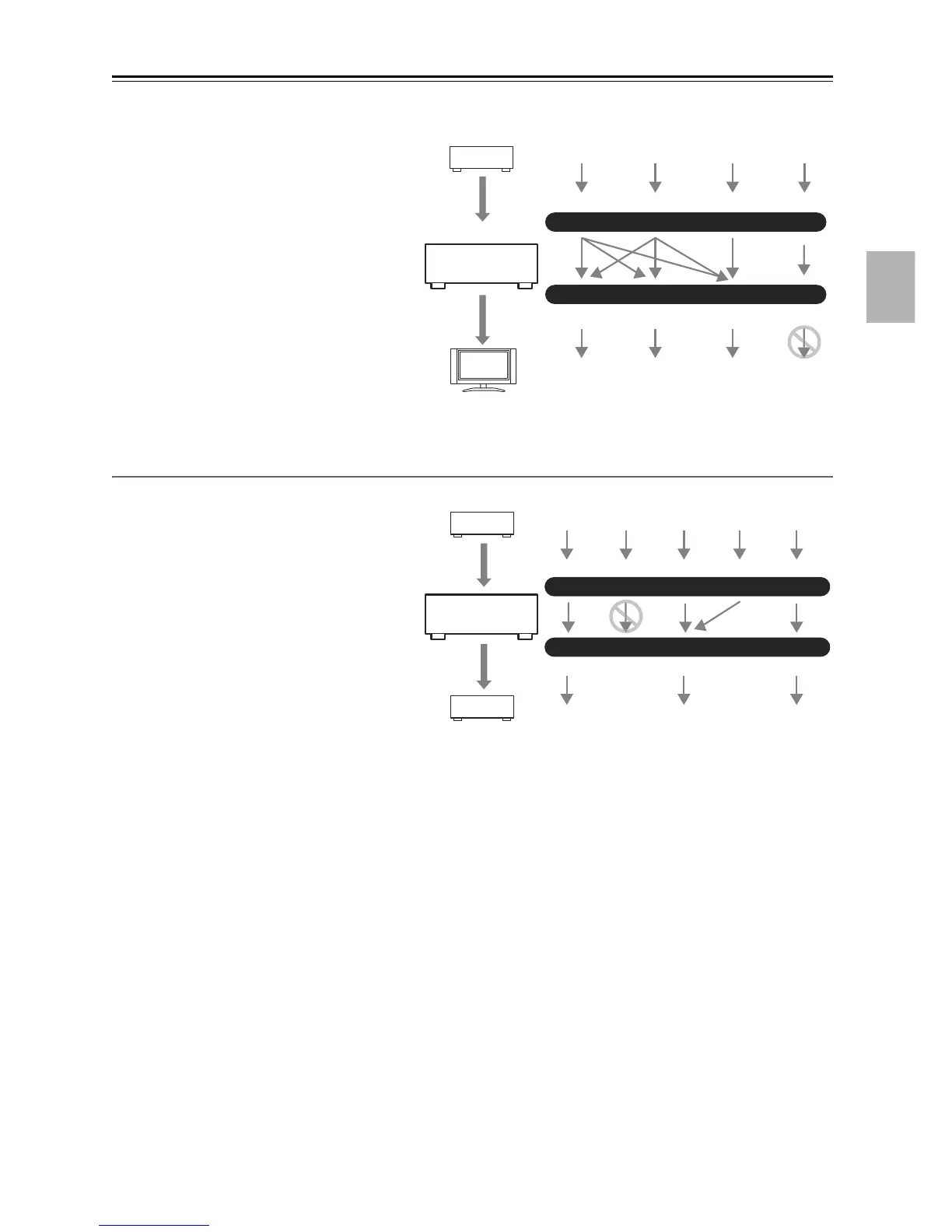
Branchement de l’ampli-tuner AV—Suite
Paramètre HDMI Monitor réglé sur No
Avec le paramètre HDMI Monitor réglé sur No
(voir page 46), les signaux d’entrée vidéo
circulent par l’ampli-tuner AV tel qu’indiqué, les
sources vidéo composite et S-Video étant
converties vers le haut pour la sortie vidéo
composantes. Utilisez ce réglage si vous
branchez la prise COMPONENT VIDEO OUT
de l’ampli-tuner AV à votre téléviseur.
Les signaux vidéo composite sont convertis vers
le haut vers S-Video, et les signaux S-Video sont
convertis vers le bas vers vidéo composite. Notez
que ces conversions s’appliquent uniquement
aux sorties MONITOR OUT V et S, non aux
sorties VCR/DVR OUT V et S.
Les sorties vidéo composite, S-Video et vidéo
composantes laissent passer leurs signaux
d’entrée respectifs tels quels.
Formats de connexion audio
Les appareils audio peuvent être branchés à
l’ampli-tuner AV en utilisant l’un ou l’autre des
formats de connexion audio suivants :
analogique, optique, coaxial, multicanal
analogique ou HDMI.
Lorsque vous choisissez le format de connexion,
tenez compte du fait que l’ampli-tuner AV ne
convertit pas les signaux d’entrée numériques
pour les sorties de ligne analogique, et vice-
versa. Par exemple, les signaux audio connectés
à une entrée numérique optique ou coaxiale ne
sont pas transmis par la prise TAPE OUT
analogique.
IN
MONITOR OUT
Lecteur DVD, etc.
Ampli-tuner
AV
Téléviseur,
projecteur, etc.
Composite
Composite
S-Video
S-Video
Composantes
Composantes
Organigramme de signal vidéo
HDMI
HDMI
IN
OUT
Lecteur DVD, etc.
Ampli-tuner
AV
Enregistreur MD, etc.
HDMICoaxialAnalogique
Organigramme de signal audio
Multicanal Optique
HDMIAnalogique Optique

Table of Contents

Other manuals for Onkyo TX-SR705

Related product manuals