EasyManua.ls Logo

Onkyo TX-SR805

Onkyo TX-SR805
120 pages
To Next Page IconTo Next Page
To Next Page IconTo Next Page
To Previous Page IconTo Previous Page
To Previous Page IconTo Previous Page
Loading...
109
Controlling Other Components
—Continued
Remote Control Codes for Onkyo
Components Connected via
Onkyo components that are connected via are con-
trolled by pointing the remote controller at the AV
receiver, not the component. This allows you to control
components that are out of view, in a rack, for example.
If you want to control an Onkyo component by pointing
the remote controller directly at it, or you want to control
an Onkyo component that’s not connected via , use
the following remote control codes:
•[DVD] REMOTE MODE button
5001:
Onkyo DVD player without (default)
[CD] REMOTE MODE button
6001:
Onkyo CD player without (default)
[MD] REMOTE MODE button
6007:
Onkyo MD recorder without
[CDR] REMOTE MODE button
6005:
Onkyo CD recorder without
Note:
If you connect an -capable Onkyo MiniDisc or CD
recorder to the TAPE IN/OUT jacks, for remote oper-
ation to work properly, you must set the Input Display
to MD or CDR, respectively (see page 51).
Resetting the REMOTE MODE Buttons
You can reset a REMOTE MODE button to its default
remote control code.
You can reset the remote controller to its default settings.
1
Make sure the Onkyo component is con-
nected with an cable and an analog
audio cable (RCA).
See page 43 for details.
2
Enter the appropriate remote control code
to the REMOTE MODE button.
•[DVD] REMOTE MODE button
5002:
Onkyo DVD player with
[CD] REMOTE MODE button
6002:
Onkyo CD player with
[MD] REMOTE MODE button
6008:
Onkyo MD recorder with
[CDR] REMOTE MODE button
6006:
Onkyo CD recorder with
See the previous page for how to enter remote
control codes.
3
Press the REMOTE MODE button, point
the remote controller at the AV receiver,
and operate the component.
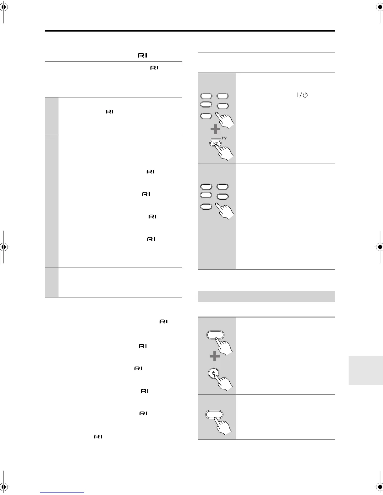
1
While holding down the REMOTE
MODE button that you want to
reset, press the TV [ ] button.
The Remote indicator flashes three
times.
2
Press the REMOTE MODE button
again.
The Remote indicator flashes twice,
indicating that the button has been
reset.
The [DVD] and [CD] REMOTE
MODE buttons are preprogrammed
with remote control codes for control-
ling Onkyo DVD players and CD play-
ers, respectively. When these buttons
are reset, the preprogrammed codes are
restored.
Resetting the Remote Controller
1
While holding down the
[RECEIVER] REMOTE MODE but-
ton, press the [STANDBY] button.
The Remote indicator flashes five
times.
2
Press the [RECEIVER] REMOTE
MODE button again.
The Remote indicator flashes twice,
indicating that the remote controller
has been reset.
CDR/MD
SAT
REMOTE MODE
TV
VCR
CABLE
DVD
CD
CDR/MD
SAT
REMOTE MODE
TV
VCR
CABLE
DVD
CD
RECEIVER
STANDBY
RECEIVER
TX-SR805875En.book Page 109 Thursday, April 26, 2007 3:00 PM

Table of Contents

Other manuals for Onkyo TX-SR805

Related product manuals