EasyManua.ls Logo

Panasonic AW-E750E - Page 269

Panasonic AW-E750E
412 pages
Print Icon
To Next Page IconTo Next Page
To Next Page IconTo Next Page
To Previous Page IconTo Previous Page
To Previous Page IconTo Previous Page
Loading...
- 22 ( I ) -
ITALIANO
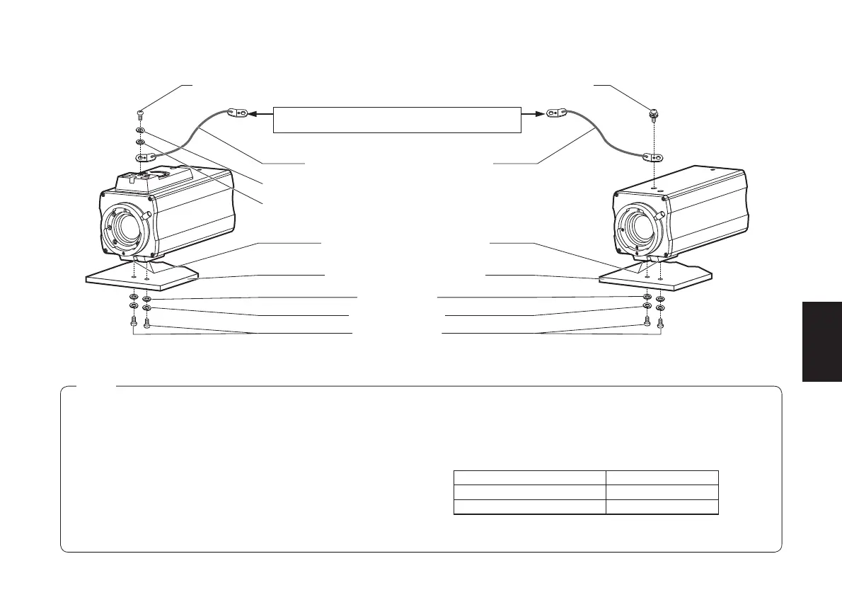
p Esempio di montaggio della videocamera su una staffa o un treppiede di altra marca
Fissare l’estremità del cavo sui bulloni di ancoraggio
M6 stringendo il dado o fissarla stringendo i bulloni M6.
Vite di montaggio per cavo (M4) (fornito)
Cavo anticaduta (venduto separatamente)
Staffa o treppiede di altra marca [*]
Fori filettati di montaggio videocamera
Rondelle piane [*]
Rondella piana (fornito)
Rondella elastica (fornito)
Rondelle elastiche [*]
Vite di montaggio per cavo (fornito)
(Vite in pollici: 1/4-20UNC)
AW-E750/AW-E655
AW-E650/AW-E350
( Il metodo di montaggio illustrato nella figura sopra
è valido per l’AW-E650 e l’AW-E350.
Per entrambi i modelli si utilizza lo stesso metodo.)
[*]: da procurarsi sul posto
Viti di montaggio [*]
(Viti in pollici: 1/4-20UNC)
Note
p
Se si installa la staffa di montaggio o si fissa un’estremità del cavo
anticaduta al soffitto o al muro, utilizzare sempre i bulloni di ancoraggio
e verificare che la resistenza all’estrazione della superficie di
installazione sia di almeno dieci volte la massa totale di tutte le unità,
compresi la staffa di montaggio, la videocamera, l’obiettivo e i cavi.
p Se la videocamera è collegata anche a un treppiede, evitare sempre
eventuali cadute della videocamera utilizzando la vite del treppiede o
strumenti simili.
p Se la videocamera viene montata su una superficie soprastante
la videocamera, non ostruire i fori di ventilazione della ventola di
raffreddamento.
p Verificare che la massa totale sommando la staffa di montaggio, la
videocamera, l’obiettivo e i cavi non superi 8 kg.
p Verificare che il cavo anticaduta sia installato in modo tale che la
distanza di caduta non superi 150 mm.
p Stringere le viti di montaggio ai valori di coppia indicati nella tabella
sotto e controllare la presenza di eventuale gioco o instabilità.
p Non utilizzare un cacciavite a percussione. In caso contrario, le viti
potrebbero danneggiarsi.
Viti Coppia di serraggio
Viti di montaggio (M4) 1,5 N • m (15 kgf • cm)
Viti di montaggio (Viti in pollici) 2,0 N • m (20 kgf • cm)

Table of Contents

Related product manuals