EasyManua.ls Logo

Panasonic AW-E750E - Page 351

Panasonic AW-E750E
412 pages
Print Icon
To Next Page IconTo Next Page
To Next Page IconTo Next Page
To Previous Page IconTo Previous Page
To Previous Page IconTo Previous Page
Loading...
- 22 (S) -
ESPAÑOL
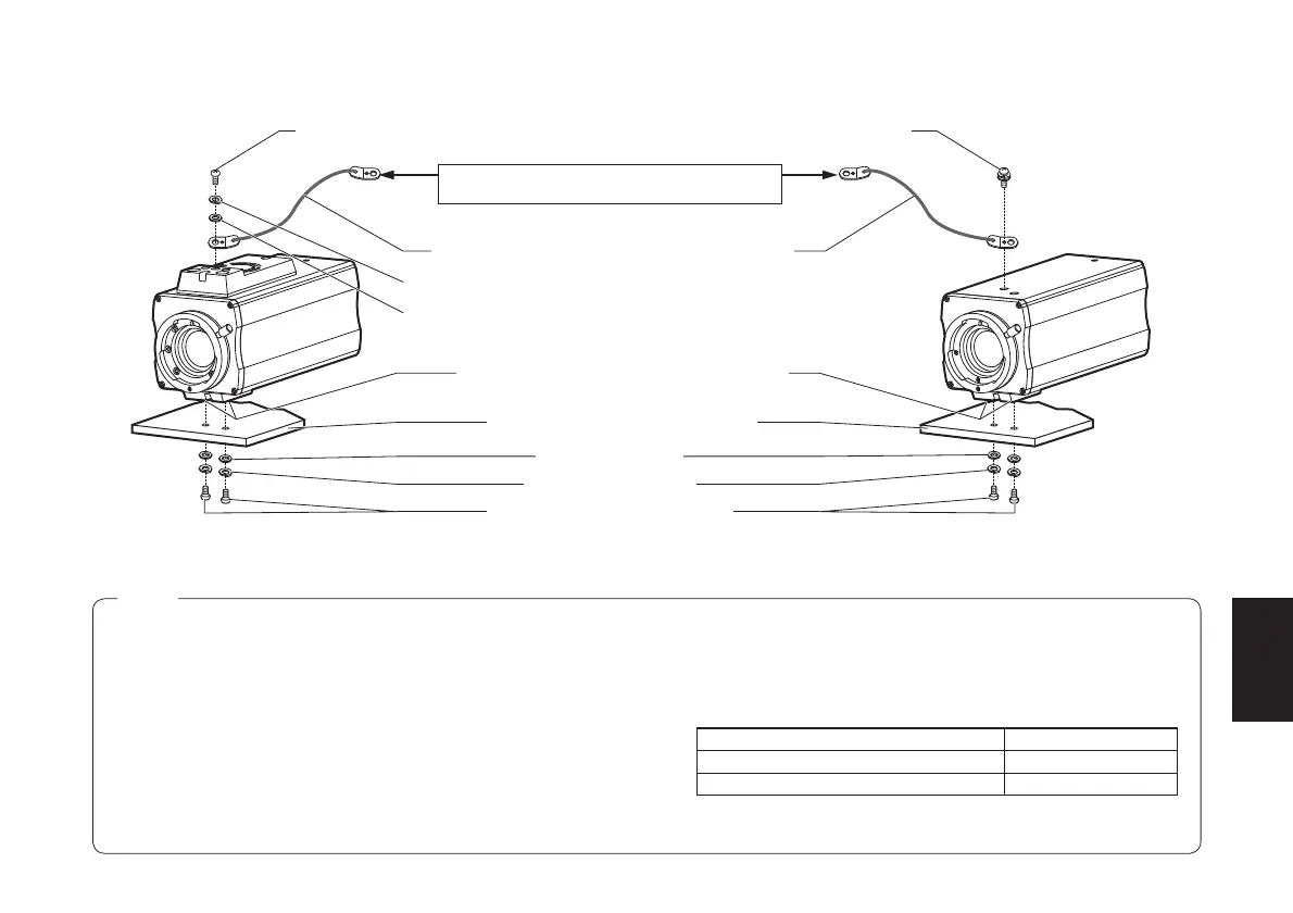
p Ejemplo de montaje de la cámara en una ménsula o trípode de otro fabricante
Asegure el extremo del cable con los pernos de
anclaje M6 apretando la tuerca o los pernos M6.
Tornillo de montaje para cable (M4)
(suministrado)
Cable para impedir caídas (vendido separadamente)
Ménsula o trípode de otro fabricante [*]
Agujeros atornillados para montaje de la cámara
Arandelas planas [*]
Arandela plana (suministrado)
Arandela de resorte (suministrado)
Arandelas de resorte [*]
Tornillo de montaje para cable (suministrado)
(Tornillo en pulgadas: 1/4-20UNC)
AW-E750/AW-E655
AW-E650/AW-E350
( El método de montaje mostrado en la ilustración
de arriba es para el AW-E650 y el AW-E350.
El mismo método se utiliza para ambos modelos.)
[*]: No proporcionado; adquirir
Tornillos de montaje [*]
(Tornillos en pulgadas: 1/4-20UNC)
Notas
p Cuando instale la ménsula de montaje o coloque un extremo del
cable para impedir caídas en el techo o en una pared, asegúrese
absolutamente de utilizar los pernos de anclaje, y asegúrese de que
la resistencia de estiramiento de la superficie de instalación sea al
menos cinco veces superior a la masa total de todas las unidades
instaladas, incluyendo la ménsula de montaje, la cámara, el objetivo
y los cables.
p Cuando la cámara se haya colocado también en un trípode,
asegúrese absolutamente de impedir la caída de la cámara utilizando
el tornillo del trípode u otros medios similares.
p Cuando monte la cámara en una superficie por encima de la propia
cámara, no tape los agujeros de ventilación del ventilador.
p Asegúrese de que la masa total, incluida la ménsula de montaje, la
cámara, el objetivo y los cables, no supera 8 kg.
p
Asegúrese de que hay instalado un cable para impedir caídas de modo
tal que la distancia de caída no sea superior a 150 mm.
p
Apriete los tornillos de montaje utilizando los pares de apriete mostrados en
la tabla siguiente, y verifique que no quede nada flojo y esté todo estable.
p No utilice un destornillador de impacto porque podrían dañarse los
tornillos.
Tornillos Par de apriete
Tornillos de montaje (M4) 1,5 N • m (15 kgf • cm)
Tornillos de montaje (Tornillos en pulgadas) 2,0 N • m (20 kgf • cm)

Table of Contents

Related product manuals