EasyManua.ls Logo

Panasonic BL-C230A - LED Control Block

Panasonic BL-C230A
75 pages
Print Icon
To Next Page IconTo Next Page
To Next Page IconTo Next Page
To Previous Page IconTo Previous Page
To Previous Page IconTo Previous Page
Loading...
13
BL-C230A
Operation of Pyroelectric Infrared Sensor
1. Pyroelectric Infrared Sensor (IC704) emits analogue signal, when a heat source, such as a person, moves into the detection
area.
2. Above signal is amplified by Operation Amplifier (IC703) which emits analogue signal.
3. Above signal is input to AD of CPU (IC101) and the signal amplitude exceeds the specified voltage range, a reaction occurs.
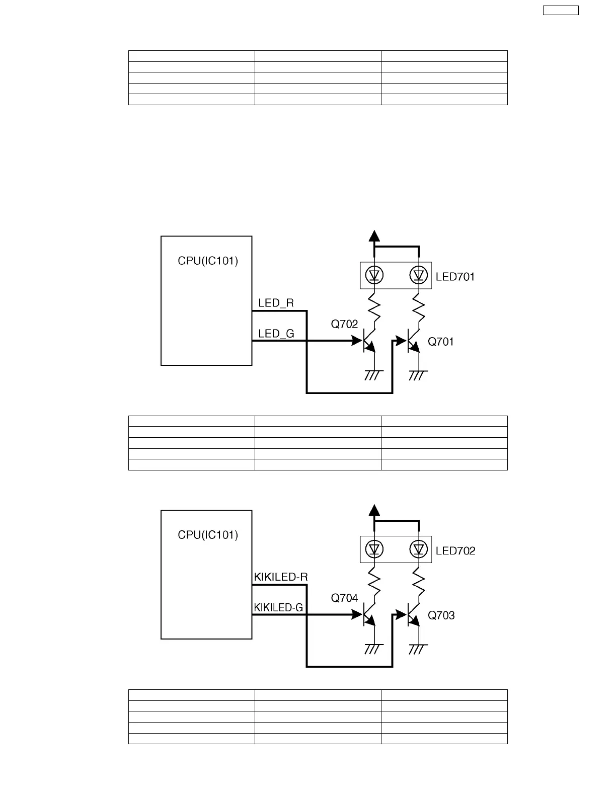
4.1.7. LED Control Block
LED is controlled by CPU which is mounted on Main Board. Control data is input into LED Control Circuit. (Three color LED is
employed.)
LED is controlled by CPU which is mounted on Main Board. Control data is input into LED Control Circuit. (Three color LED is
employed.)
GAIN1 (IC701-7pin) GAIN2 (IC701-3pin) GAIN
0 0 71.2
1 0 63.4
0 1 60.2
1 1 57.2
LED_R LED_G Color of LED
LLOFF
L H Green
HLRed
H H Orange
LED_R LED_G Color of LED
LLOFF
L H Green
HLRed
H H Orange

Table of Contents

Other manuals for Panasonic BL-C230A

Related product manuals