EasyManua.ls Logo

Panasonic BL-C230A - I;O Terminal Block; PAN Control Block; TILT Motor Control Block

Panasonic BL-C230A
75 pages
Print Icon
To Next Page IconTo Next Page
To Next Page IconTo Next Page
To Previous Page IconTo Previous Page
To Previous Page IconTo Previous Page
Loading...
14
BL-C230A
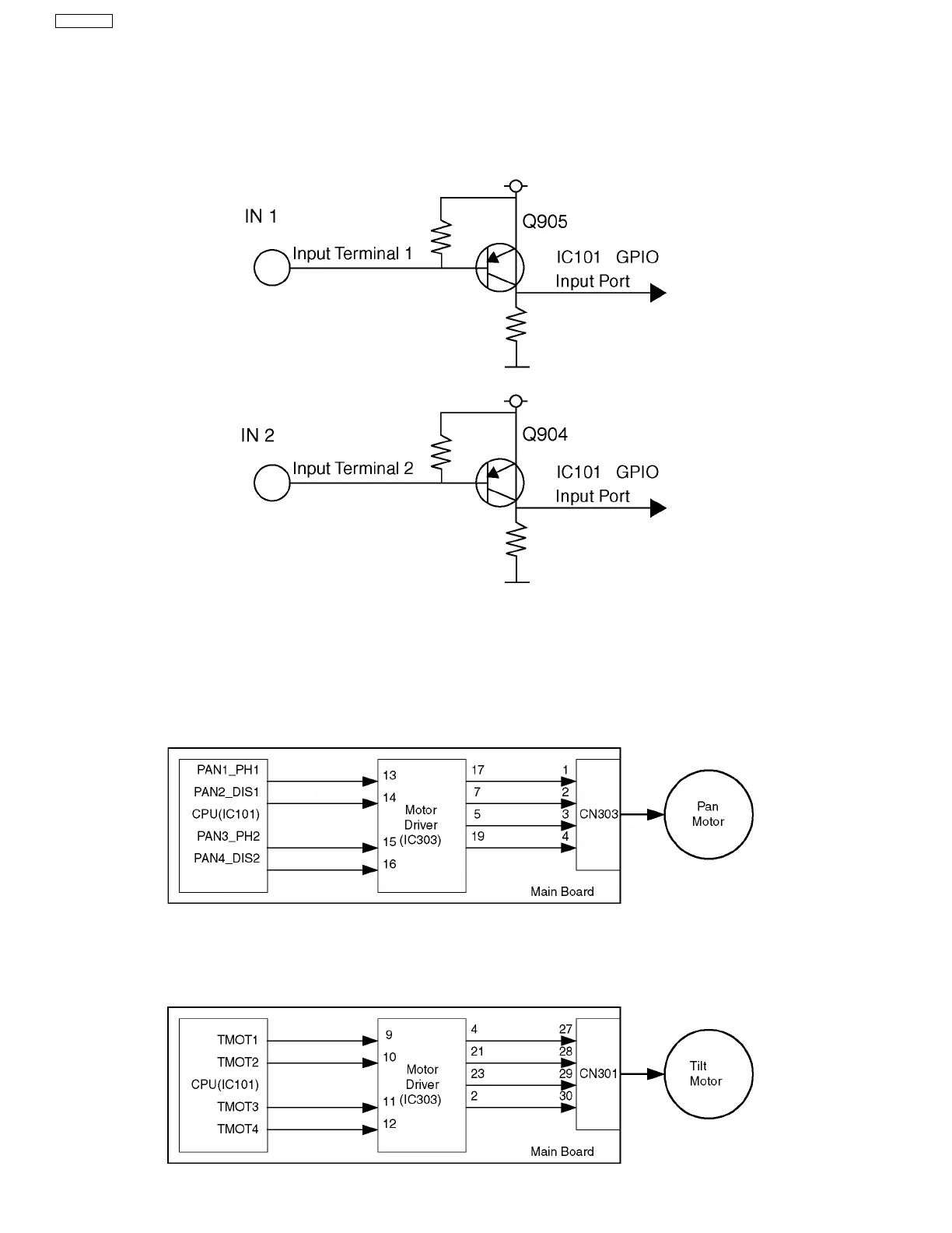
4.1.8. I/O Terminal Block
The system of the Input terminal is connected to the Input Port of the IC101 GPIO.
Due to Internal Pull-up Resistance, the PNP Transistor (Q905,Q904) on the following level is usually in the OFF state and the Input
Port connected to the collector is at L level.
If the terminal is short-circuited with the GND, or the signal of L level is input, the PNP Transistor goes ON and the Input Port goes
to H level.
The CPU checks the state of this port regularly to detect a change in this signal.
4.1.9. PAN Control Block
A pan motor is initiated when CPU (IC101) on a Main Board controls the Motor Driver IC (IC303) on the same board.
A Constant Voltage Bipolar Drive System is employed. The Voltage of Motor Power (VM) is 3.3V. ø15 Stepping Motors are
employed.
DC-DC Converter
Package: 24 pin SOP
4.1.10. TILT Motor Control Block
A Tilt motor is initiated when CPU (IC101) on a main board controls the motor driver IC (IC303) on the same board.
A Constant Voltage Bipolar Drive System is employed. The Voltage of Motor Power (VM) is 3.3V.
ø15 Stepping Motors are
employed.

Table of Contents

Other manuals for Panasonic BL-C230A

Related product manuals