EasyManua.ls Logo

Panasonic CS-C12KKF-2 - Page 71

Panasonic CS-C12KKF-2
115 pages
Print Icon
To Next Page IconTo Next Page
To Next Page IconTo Next Page
To Previous Page IconTo Previous Page
To Previous Page IconTo Previous Page
Loading...
71
ECO Patrol Sensor abnormality check mode
Purpose is to improve sensor serviceability when sensor is malfunction.
(1) Control starting condition
When all of the conditions are formed
Not in ECO Patrol Demo mode.
ECO Patrol mode ON.
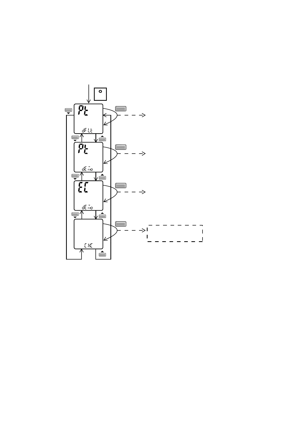
When ECO Patrol sensor check mode signal is received; the procedure of selection is as shown:
Press “Set” button continuously for 15 seconds by using pointer to enter internal setting mode.
Press “Timer Decrement" button to select “CHC”.
Confirm setting by pressing “Timer Set” button, a “beep” sound will be heard.
SET
SET
Transmit Patrol default OFF/ON code
(Buzzer: OFF:Long Beep, ON:Short Beep)
Press continously for 15s
SET
Transmit Patrol demo code
(Buzzer: OFF:Long Beep, ON:Short Beep)
SET
Transmit ECO demo code
(Buzzer: OFF:Long Beep, ON:Short Beep)
SET
Transmit check code
(Buzzer:Short Beep)
(2) Control ending condition.
When any of the conditions are formed
Operation stops.
“Timer Cancel” button pressed.
When ECO Patrol sensor check mode signal is not received for more than 30 seconds.
(3) Control content.
During ECO Patrol mode ON, when check signal is received, if (1) or (2) is detected.
ECO Patrol LED start blinking (ECO Patrol sensor operation stops but the unit operates as normal) and
ECO Patrol sensor abnormal code is memorized (the 4 times counter is ignored)
The blinking of ECO Patrol LED can be cancelled by pressing ECO Patrol button again.
Sensor error counter can be cleared only after power supply reset or “AC Reset” button on remote
control is pressed.
However, if there is no ECO Patrol sensor abnormally happen, ECO Patrol sensor operation will continues as normal.

Table of Contents

Related product manuals