EasyManua.ls Logo

Panasonic E3 - Page 65

Panasonic E3
329 pages
Print Icon
To Next Page IconTo Next Page
To Next Page IconTo Next Page
To Previous Page IconTo Previous Page
To Previous Page IconTo Previous Page
Loading...
1-11-1-2-4
1
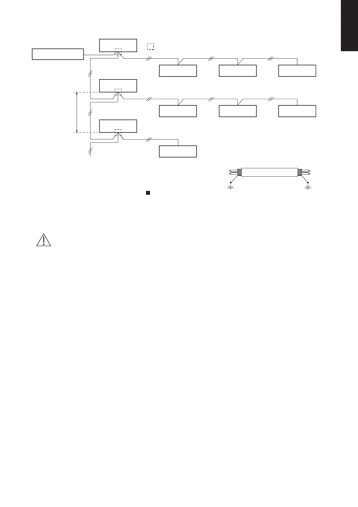
(5) Use shielded wires for inter-unit control wiring (C) and
ground the shield on both sides, otherwise misoperation
from noise may occur.
Connect wiring as shown in Section “ Wiring System
Diagrams” on page 1-11-1-2-2.
(6) • Use the standard power supply cables for Europe (such as H05RN-F or H07RN-F which conform to
CENELEC (HAR) rating specifications) or use the cables based on IEC standard.
(60245 IEC57, 60245 IEC66)
(4) If branching the inter-unit control wiring, the number of branch points should be 16 or fewer.
Outdoor unit
Outdoor unit
Outdoor unit
: Branch point
Indoor unit Indoor unit Indoor unit
Indoor unit Indoor unit Indoor unit
Indoor unit
More than 2m required
Central Controller
(Functional earthing) (Functional earthing)
Shielded wire
WARNING
Loose wiring may cause the terminal to overheat or result in unit malfunction. A fire hazard may also
occur. Therefore, ensure that all wiring is tightly connected.
When connecting each power wire to the terminal, follow the instructions on “How to connect wiring to
the terminal” and fasten the wire securely with the terminal screw.
SM830281-00_欧州向け R32シングル TD&SM.indb 4 20/01/09 14:59:33

Table of Contents

Related product manuals