EasyManua.ls Logo

Panasonic KX-TDA100D - Page 79

Panasonic KX-TDA100D
240 pages
To Next Page IconTo Next Page
To Next Page IconTo Next Page
To Previous Page IconTo Previous Page
To Previous Page IconTo Previous Page
Loading...
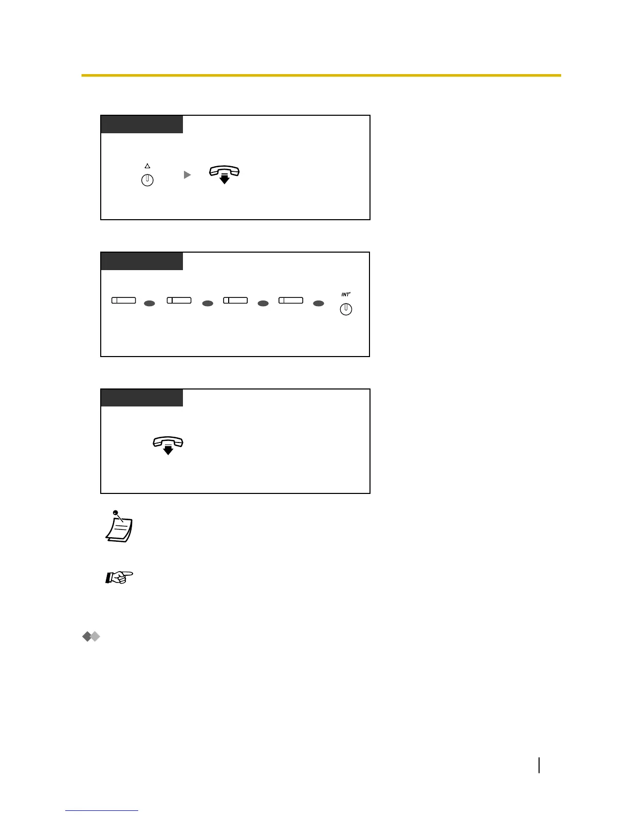
To leave a conference
PT/PS
Press CONF.
During 3- to 7-party conference
On-hook.
CONF
To return while others are talking
Press flashing green CO, ICD Group, PDN, SDN, or INTERCOM.
PT/PS
OR
(CO)
INTERCOM
(ICD Group)
OR
(SDN)(PDN)
OR OR
To complete a conversation
During a conversation
PT/PS
On-hook.
Time limit
Both
parties will hear an alarm tone before a specified timeout. The originating extension user
will hear an alarm tone before timeout. The call is disconnected when the timer runs out
unless the originating extension returns to the conference.
Customising Your Phone
3.1.3 Customising the Buttons
Create or edit a Conference button.
Leaving a Conference (Leaving Three-party Conference)
The
person who originated a conference with two other parties can leave the conference, and allow the other
parties to continue the conversation.
User Manual 79
1.4.5 Multiple Party Conversation

Table of Contents

Other manuals for Panasonic KX-TDA100D

Related product manuals