EasyManua.ls Logo

Panasonic KX-TDA200BX - Paging Troubleshooting; Paging No Sound (PAGING1) Troubleshooting; Paging No Sound (PAGING2) Troubleshooting

Panasonic KX-TDA200BX
96 pages
To Next Page IconTo Next Page
To Next Page IconTo Next Page
To Previous Page IconTo Previous Page
To Previous Page IconTo Previous Page
Loading...
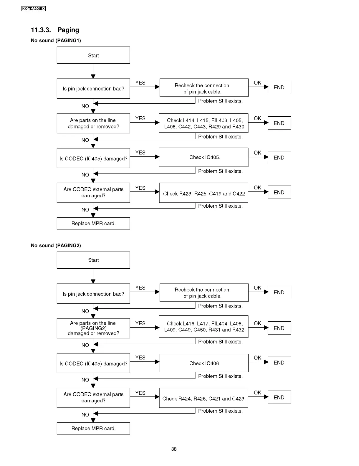
11.3.3. Paging
No sound (PAGING1)
No sound (PAGING2)
38
KX-TDA200BX
All manuals and user guides at all-guides.com

Table of Contents

Related product manuals