EasyManua.ls Logo

Panasonic KX-TDA200BX - MOH Volume Issues (MOH1) Troubleshooting; MOH Volume Issues (MOH2) Troubleshooting

Panasonic KX-TDA200BX
96 pages
To Next Page IconTo Next Page
To Next Page IconTo Next Page
To Previous Page IconTo Previous Page
To Previous Page IconTo Previous Page
Loading...
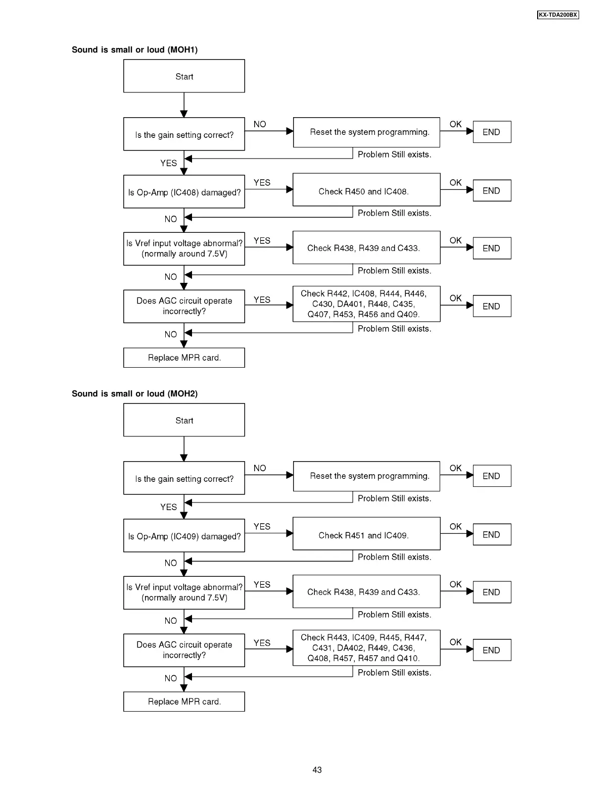
Sound is small or loud (MOH1)
Sound is small or loud (MOH2)
43
KX-TDA200BX
All manuals and user guides at all-guides.com

Table of Contents

Related product manuals