EasyManua.ls Logo

Panasonic KX-TG1033S

Panasonic KX-TG1033S
98 pages
To Next Page IconTo Next Page
To Next Page IconTo Next Page
To Previous Page IconTo Previous Page
To Previous Page IconTo Previous Page
Loading...
49
KX-TG1032S/KX-TG1033S/KX-TG1034S/KX-TGA101S
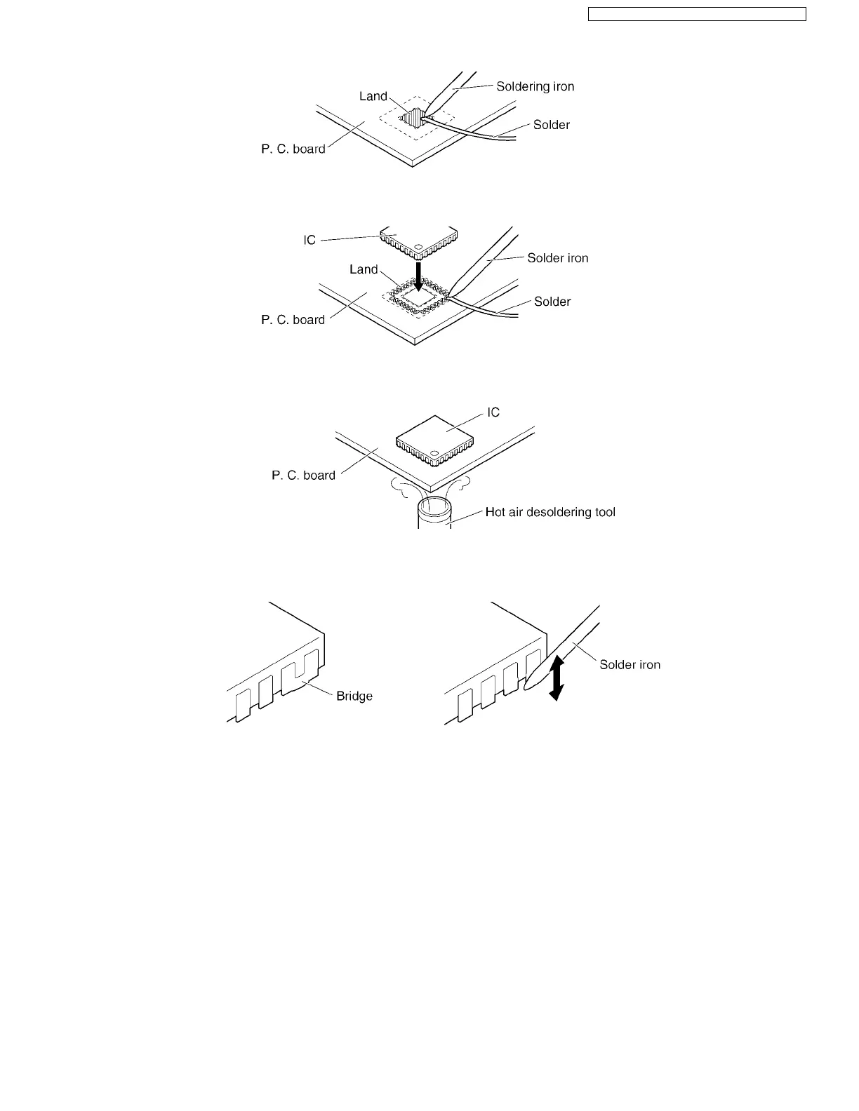
9.5.4. How to Install the IC
1. Place the solder a little on the land where the radiation GND pad on IC bottom is to be attached.
2. Place the solder a little on the land where IC pins are to be attached, then place the IC.
Note:
When placing the IC, the positioning should be done very carefully.
3. Heat the IC with a hot air desoldering tool through the P. C. board until the solder on IC bottom is melted.
Note:
Be sure to place it precisely, controlling the air volume of the hot air desoldering tool.
4. After soldering, confirm there are no short and open circuits with visual inspection.
9.5.5. How to Remove a Solder Bridge
When a Solder Bridge is found after soldering the bottom of the IC, remove it with a soldering iron.

Table of Contents

Related product manuals