EasyManua.ls Logo

Panasonic KX-TG1033S

Panasonic KX-TG1033S
98 pages
To Next Page IconTo Next Page
To Next Page IconTo Next Page
To Previous Page IconTo Previous Page
To Previous Page IconTo Previous Page
Loading...
56
KX-TG1032S/KX-TG1033S/KX-TG1034S/KX-TGA101S
11 Measurements and Adjustments
11.1. The Setting Method of JIG (Base Unit)
11.1.1. Preparation
11.1.1.1. Equipment Required
Frequency counter: It must be precise enough to measure intervals of 1 Hz (precision; ±4 ppm).
Hewlett Packard, 53131A is recommended.
Digital multi-meter (DMM): it must be able to measure voltage and current.
Oscilloscope
11.1.1.2. JIG and PC
Serial JIG
JIG Cable: PQZZ1CD300E
PC which runs in DOS mode
Batch file CD-ROM for setting: PQZZTG1032M
11.1.2. PC Setting
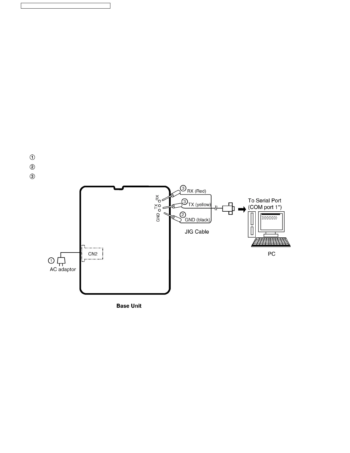
11.1.2.1. Connections
Connect the AC adaptor to CN2 (base unit).
Connect the JIG Cable GND (black).
Connect the JIG Cable RX (red) and TX (yellow).
Note:
*: COM port names may vary depending on what your PC calls it.

Table of Contents

Related product manuals