EasyManua.ls Logo

Panasonic KX-TG1033S

Panasonic KX-TG1033S
98 pages
To Next Page IconTo Next Page
To Next Page IconTo Next Page
To Previous Page IconTo Previous Page
To Previous Page IconTo Previous Page
Loading...
48
KX-TG1032S/KX-TG1033S/KX-TG1034S/KX-TGA101S
9.5. How to Replace the LLP (Leadless Leadframe Package) IC
9.5.1. Preparation
PbF (: Pb free) Solder
Soldering Iron
Tip Temperature of 700°F ± 20°F (370°C ± 10°C)
Note:
We recommend a 30 to 40 Watt soldering iron. An expert may be able to use a 60 to 80 Watt iron where someone with less
experience could overheat and damage the PCB foil.
Hot Air Desoldering Tool
Temperature: 608°F ± 68°F (320°C ± 20°C)
9.5.2. Caution
To replace the IC efficiently, choose the right sized nozzle of the hot air desoldering tool that matches the IC package.
Be careful about the temperature of the hot air desoldering tool not to damage the PCB and/or IC.
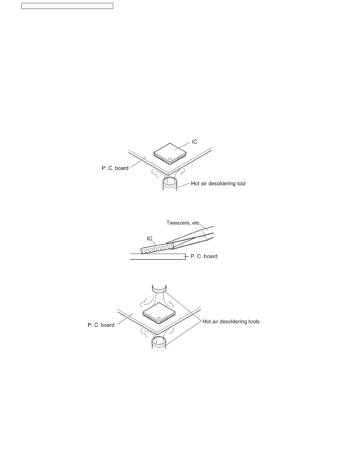
9.5.3. How to Remove the IC
1. Heat the IC with a hot air desoldering tool through the P. C. board.
2. Pick up the IC with tweezers, etc. when the solder is melted completely.
Note:
Be careful not to touch the peripheral parts with tweezers, etc. They are unstable.
When it is hard to melt the solder completely, heat it with a hot air desoldering tool through the IC besides through the P. C.
board.
3. After removing the IC, clean the P. C. board of residual solder.

Table of Contents

Related product manuals