EasyManua.ls Logo

Panasonic KX-TG1033S

Panasonic KX-TG1033S
98 pages
To Next Page IconTo Next Page
To Next Page IconTo Next Page
To Previous Page IconTo Previous Page
To Previous Page IconTo Previous Page
Loading...
8
KX-TG1032S/KX-TG1033S/KX-TG1034S/KX-TGA101S
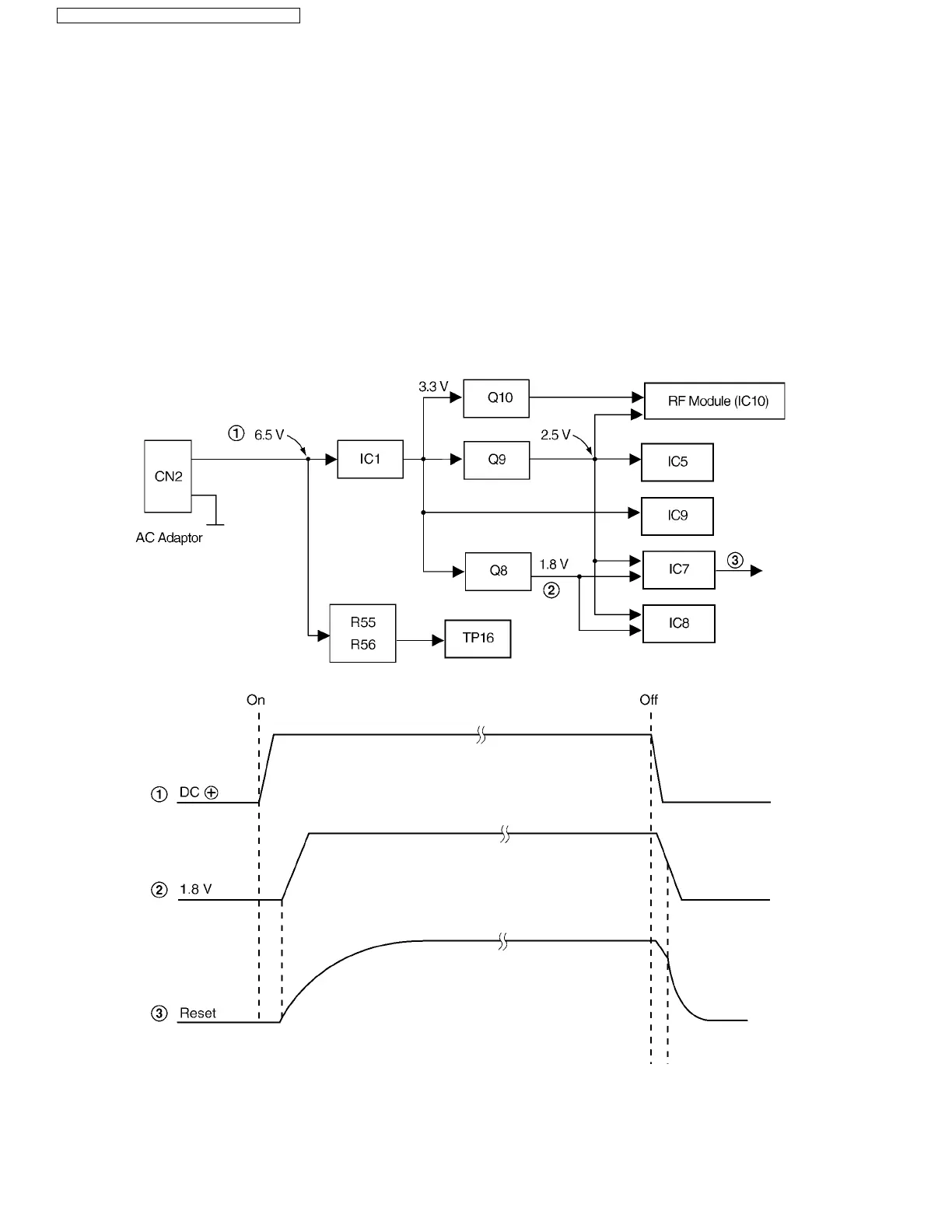
4.2.2. Power Supply Circuit
The power is supplied to the DECT BBIC, RF Module, EEPROM and Charge Contact from AC Adaptor (+6.5 V) as shown in
Fig.101. The power supply is as follows;
DECT BBIC (IC7):
CN2 (+6.5 V) IC1 Q9 IC7
CN2 (+6.5 V) IC1 Q8 IC7
RF Module (IC10):
CN2 (+6.5 V) IC1 Q9 IC10 (PLL)
CN2 (+6.5 V) IC1 Q10 IC10 (Power AMP)
EEPROM (IC5):
CN2 (+6.5 V) IC1 Q9 IC5
FLASH MEMORY (IC9):
CN2 (+6.5 V) IC1 IC9
TAM Companion (IC8):
CN2 (+6.5 V) IC1 Q9 IC8
CN2 (+6.5 V) IC1 Q8 IC8
Charge Contact (TP16):
CN2 (+6.5 V) R55, R56 TP16
<Fig.101>

Table of Contents

Related product manuals