EasyManua.ls Logo

Panasonic KX-TG1033S

Panasonic KX-TG1033S
98 pages
To Next Page IconTo Next Page
To Next Page IconTo Next Page
To Previous Page IconTo Previous Page
To Previous Page IconTo Previous Page
Loading...
91
KX-TG1032S/KX-TG1033S/KX-TG1034S/KX-TGA101S
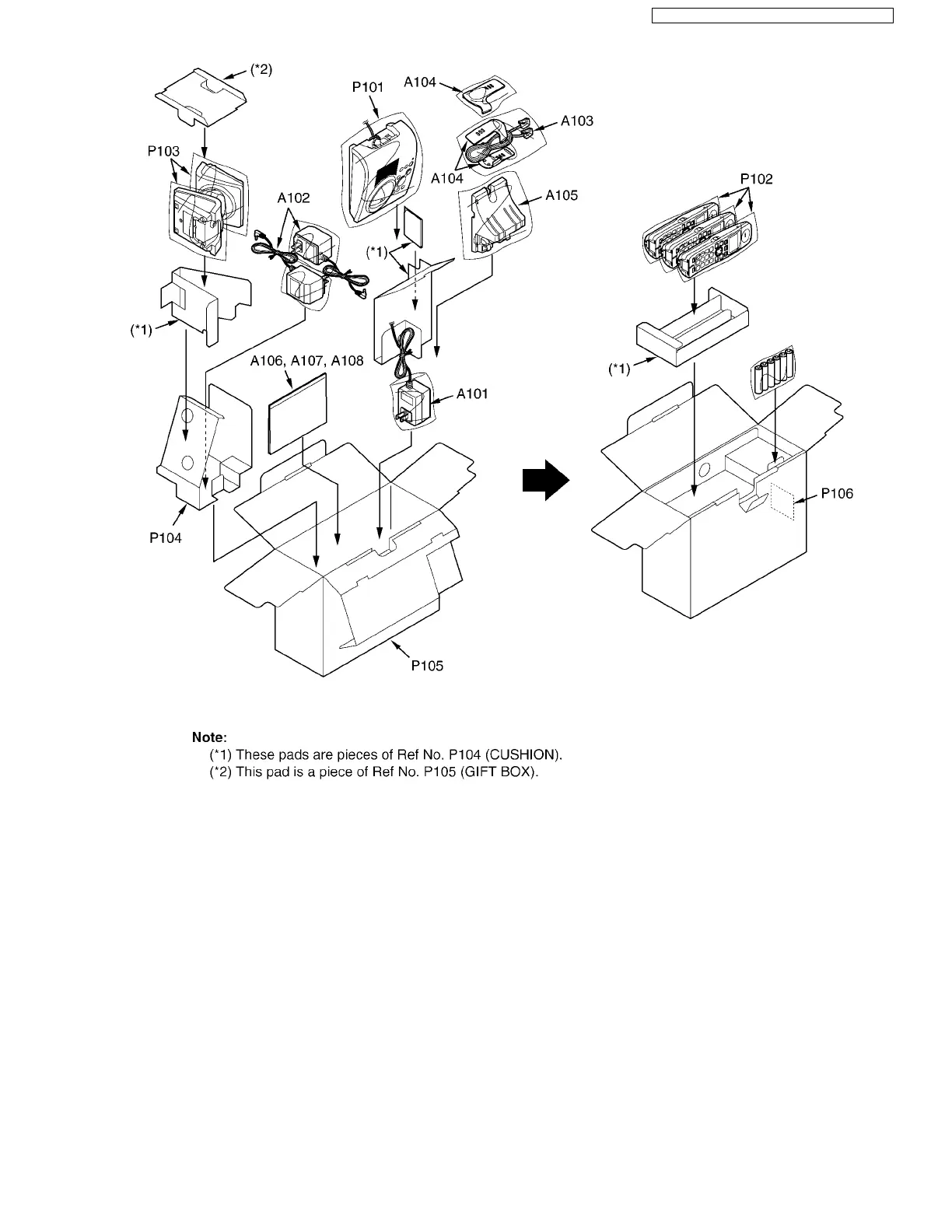
15.4.2. KX-TG1033S

Table of Contents

Related product manuals