EasyManua.ls Logo

Panasonic KX-TG5571M

Panasonic KX-TG5571M
92 pages
To Next Page IconTo Next Page
To Next Page IconTo Next Page
To Previous Page IconTo Previous Page
To Previous Page IconTo Previous Page
Loading...
Useful Information
For assistance, please visit http://www.panasonic.com/consumersupport 71
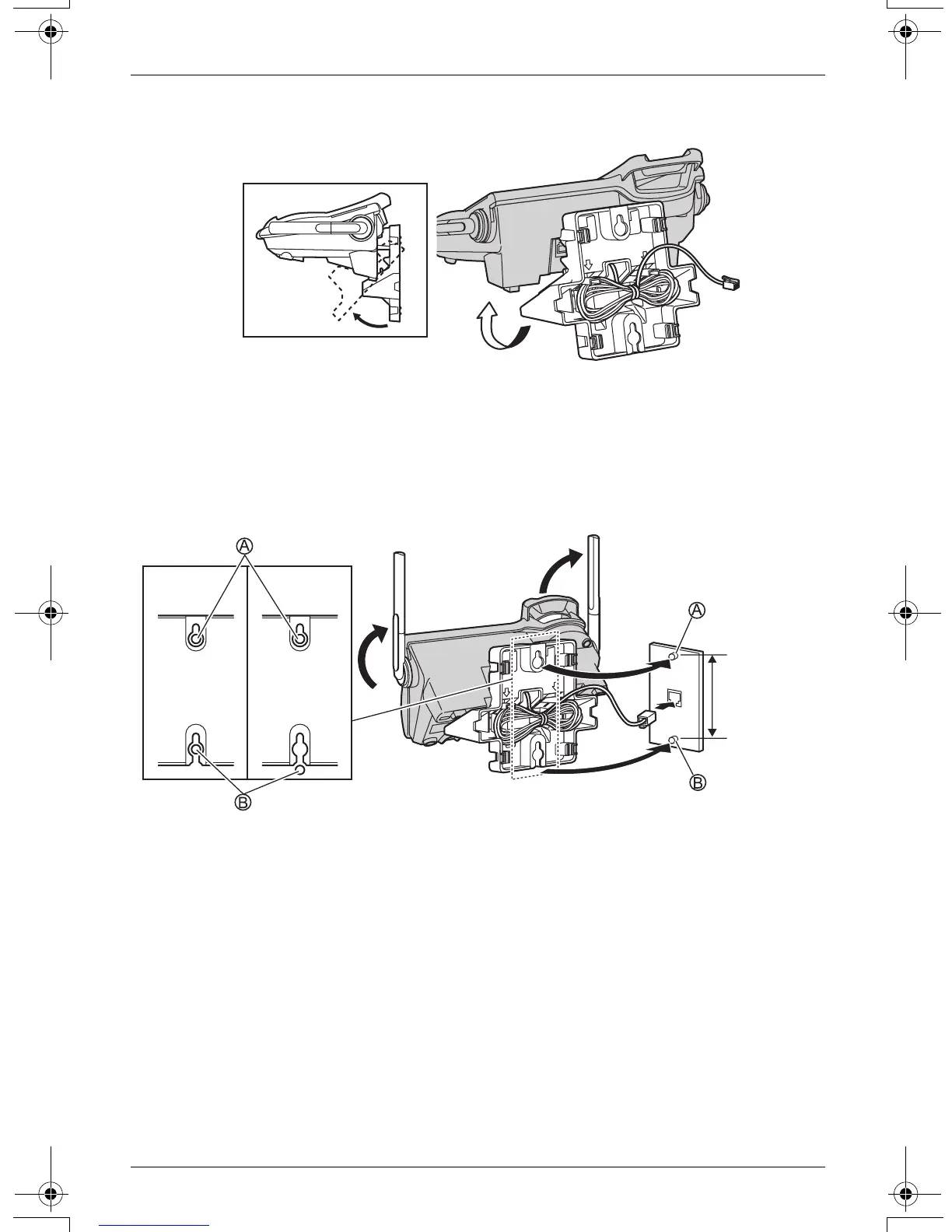
4 Adjust the adaptor to hold the base unit, then push it in the direction of the arrow until
it clicks into place.
5 Connect the telephone line cord. Mount the unit by inserting the mounting pins (A and
B) into the round openings on the adaptor, then sliding the unit down to secure the
unit.
L The position of the mounting pins may vary depending on the size of the wall
mounting plate installed. Refer to the illustration below.
L Raise the antennas.
83 mm (3
1
/
4
")
or
102 mm (4")
83 mm
(3
1
/
4
")
102 mm
(4")
TG5571_5576.book Page 71 Friday, June 10, 2005 6:46 PM

Table of Contents

Related product manuals