EasyManua.ls Logo

Partlow MIC 6000 - Page 39

Partlow MIC 6000
82 pages
Print Icon
To Next Page IconTo Next Page
To Next Page IconTo Next Page
To Previous Page IconTo Previous Page
To Previous Page IconTo Previous Page
Loading...
PAGE 39
ON
OFF
Actual Display
On/Off Display -
Use arrow keys
to turn on or off
Scroll Key
Numeric Display -
Use arrow keys
to change value
Up Arrow Key
Down Arrow
Key
Display Code Description Value
Pn Profile Number Actual Profile Number
tr Time remaining in current Ramp or Soak Actual time remaining value
(in whatever units were config
ured in the program mode for
Ptb)
E1, E2, E3 Event 1-3 status (if applicable) on or oFF
SP Current Setpoint Actual Setpoint Value
ProC Current Process Value Actual Process Value
PLCt Profile Loop Count remaining Profile Loop count Value
Each code or value will only be displayed if they are appropriate. Each code or value will be
displayed for one second. This sequence will continue until any key is depressed.
To start a profile running at some point within the profile other than start can be accomplished
by using the Profile Continue mode. Press and release the SCROLL key until display is
PCon, then press the DOWN key. The display will be Pn; adjust the profile parameter values
as needed in the Profile Continue Configuration mode, then press the RUN key. The
instrument will execute the profile selected as directed by the information entered in the
Profile Continue mode. See Table 4-1, page 40. If you are running a profile and it is desired
to alter the profile you must go to hold and then scroll to the Off or Control mode before
entering Pcon.
Note: Pcon is not available when Profile Time Base (Ptb) in Program mode has been
set for Units Ramp Rate (EO Option).
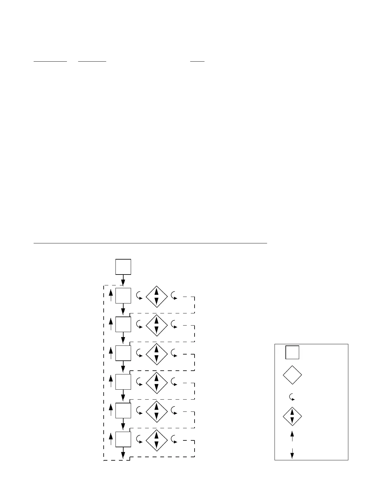
PROFILE CONTINUE MODE FLOW CHART
Sn
rtr
Str
E1-E3
PLCt
Pn
PCon

Related product manuals