EasyManua.ls Logo

Perkins 415GM - Engine Guarantee and Identification

Perkins 415GM
124 pages
Print Icon
To Next Page IconTo Next Page
To Next Page IconTo Next Page
To Previous Page IconTo Previous Page
To Previous Page IconTo Previous Page
Loading...
Chapter 1 N39453
Page 12
Engine guarantee
If a claim under guarantee is necessary, the boat owner should make a guarantee claim on the nearest Perkins
marine distributor or an approved dealer.
If it is difcult to nd a Perkins distributor or an approved dealer, consult the Service Department of Wimborne
Marine Power Centre, Wimborne.
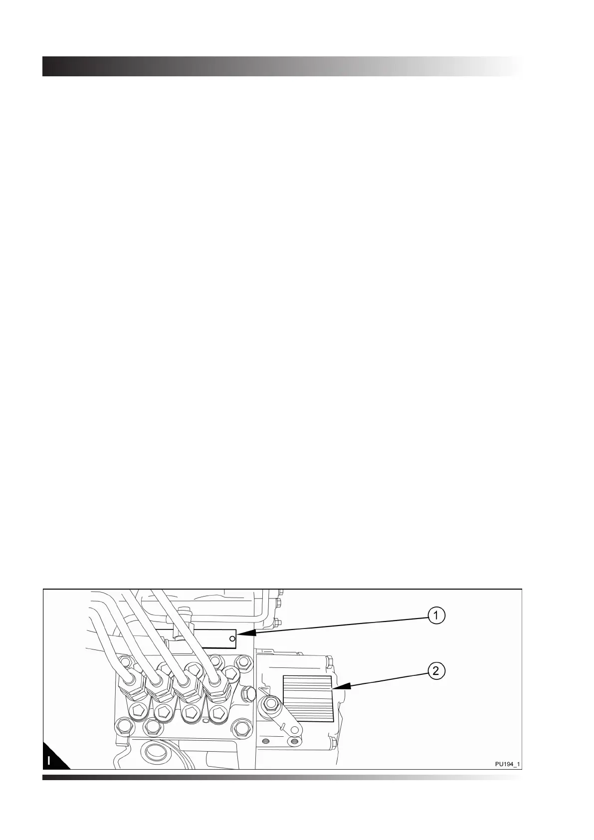
The engine identication number is shown at two locations on the engine:
Models 415GM, 422GM and 422TGM: stamped on a plate (I1) at the front right side of the cylinder block
under the fuel injection pipes. The other is shown on a label (I2) tted to the top of the timing case.
Models 4.4GM, 4.4TGM, 4.4TWGM and 4.4TW2GM: stamped on a plate at the right side of the cylinder block
(J1) and shown on a label (K1) tted to the front of the timing case.
Models 4.4GM rad, 4.4TGM rad, 4.4TWGM rad and 4.4TW2GM rad: stamped on a plate at the right side of
the cylinder block (L1) and shown on a label (M1) tted to the front of the timing case.
An example of a 4.4TGM Radiator engine number is: RG30879U123456L.
The components of the engine number are as follows:
RG30879U123456L
RG Type code letters
30879 Build list number
U Built in the UK
123456 Engine serial number
L Year of manufacture
If you need parts, service or information for your engine, you must give the complete engine number to your
Perkins distributor.
Engine identication
415GM - identication letters HL
422GM - identication letters HP
422TGM - identication letters HR
4.4GM - identication letters RE
4.4TGM - identication letters RG
4.4TWGM - identication letters RJ
4.4TW2GM - identication letters RJ
4.4GM Radiator - identication letters RE
4.4TGM Radiator - identication letters RG
4.4TWGM Radiator - identication letters RJ
4.4TW2GM Radiator - identication letters RJ

Table of Contents

Other manuals for Perkins 415GM

Related product manuals