EasyManua.ls Logo

Philips DVDR600VR/37 - Power Supply Block Diagram

Philips DVDR600VR/37
204 pages
Print Icon
To Next Page IconTo Next Page
To Next Page IconTo Next Page
To Previous Page IconTo Previous Page
To Previous Page IconTo Previous Page
Loading...
1-11-8
E9480BLP
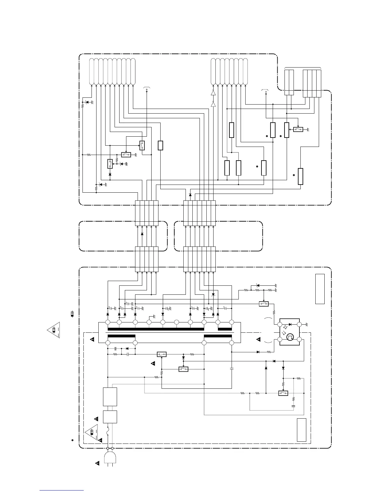
Power Supply Block Diagram
A V
AC1001
F1001
1.25A 250V
LINE
FILTER
L1005
D1012 - D1015
BRIDGE
RECTIFIER
2
4
Q1001
Q1003
Q1008
8
7
3
4
IC010
ERROR
VOLTAGE DET
HOT
COLD
T1001
Q253
Q251
POWER SUPPLY CBA MAIN CBA
JUNCTION-A
CBA
JUNCTION-B
CBA
F
HOT CIRCUIT. BE CAREFUL.
20
19
18
17
16
15
14
13
12
11
11AL+44V
22
AL+12V(1)
33
AL+12V(2)
44AL+5V
55DVD+5V
11AL-30V
22AL+3.3V
44AL-5V
77F1
88F2
99EV+5V
66P-DOWN
CN1607
CN1610
CN1612
CN1613
CN207
CN208
CN1608 CN209
CN210CN1611
NOTE :
The voltage for parts in hot circuit is measured using
hot GND as a common terminal.
CAUTION
FOR CONTINUED PROTECTION AGAINST FIRE HAZARD,
REPLACE ONLY WITH THE SAME TYPE FUSE.
ATTENTION : POUR UNE PROTECTION CONTINUE LES RISQES
D'INCELE N'UTILISER QUE DES FUSIBLE DE MEMO TYPE.
RISK OF FIRE
-REPLACE FUSE AS MARKED.
"This symbol means fast operating fuse."
"Ce symbole reprèsente un fusible à fusion rapide."
A V
F
CAUTION !
Fixed voltage ( or Auto voltage selectable ) power supply circuit is used in this unit.
If Main Fuse (F1001) is blown, check to see that all components in the power supply
circuit are not defective before you connect the AC plug to the AC power supply.
Otherwise it may cause some components in the power supply circuit to fail.
1
2
19AL+44V
28
AL+12V(1)
37
AL+12V(2)
46AL+5V
55DVD+5V
19AL-30V
28AL+3.3V
46AL-5V
73F1
82F2
91EV+5V
64P-DOWN
TO SERVO/
SYSTEM CONTROL
BLOCK DIAGRAM
P-ON-L
STBY+33V
AL+18V
AL+12V
P-ON+9V
P-ON+5V
AL+5V
-FL
F1
F2
EV+5V
IPFAIL
STBY+12V
SW+8V
+5V
+3V
STBY+5V
STBY-5V
-5V
IDN
Q256
Q250Q248
IC229
IC233,Q258
Q247
TO
DIGITAL
BOARD
UNIT
TO SUB SYSTEM
CONTROL BLOCK
DIAGRAM
Q246
Q031
REG.
1+12V
4+5V
1 -5V
4+5V
7+12V
9-12 +3.3V
SW+12V
IC230
SW-5V
SW+5V
SW+3.3V
IC231,Q260
REG+8V
Q255
SW+5V
IC232,Q252
REG+3V
Q257
" " = SMD

Table of Contents

Related product manuals