EasyManua.ls Logo

Philips pm2521 - 6.4.1.8. Temperature measurements (°C)

Philips pm2521
187 pages
Print Icon
To Next Page IconTo Next Page
To Next Page IconTo Next Page
To Previous Page IconTo Previous Page
To Previous Page IconTo Previous Page
Loading...
43
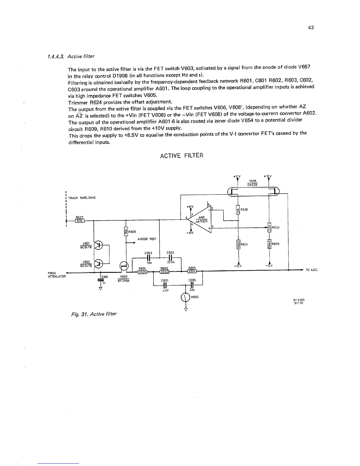
1. 4.4.3.
Active
filter
The
input
to
the
active
filter
is via
the
FET
switch V603,
activated by
a
signal
from
the
anode
of
diode V657
in
the relay
control
D1908
(in all
functions
except
Hz and s).
Filtering
is
obtained
basically by
the
frequency-dependent
feedback
network
R601
,
C601
R602,
R603,
C602,
C603
around
the
operational
amplifier A601
.
The loop
coupling
to
the
operational
amplifier
inputs
is
achieved
via
high
impedance
FET
switches
V605.
Trimmer
R624
provides
the
offset
adjustment.
The
output
from
the
active
filter is
coupled
via
the FET
switches
V606,
V606',
(depending
on
whether
AZ
on
^
is
selected)
to
the
+Vin (FET V608)
or
the
-Vin
(FET V608)
of
the
voltage-to-current
convertor
A602.
The
output
of
the
operational
amplifier A601-6
is
also
routed
via
zener
diode
V654
to
a
potential
divider
circuit R609,
R610
derived
from
the
-t-IOV
supply.
This
drops
the supply
to
+8.5V to
equalise
the
conduction
points
of
the
V-l
convertor
FET
s
caused
by
the
differential
inputs.
ACTIVE
FILTER
Fig.
31.
Active
filter

Other manuals for Philips pm2521

Related product manuals