EasyManua.ls Logo

PLS AR-200 - Transit Coupling

PLS AR-200
37 pages
Print Icon
To Next Page IconTo Next Page
To Next Page IconTo Next Page
To Previous Page IconTo Previous Page
To Previous Page IconTo Previous Page
Loading...
26
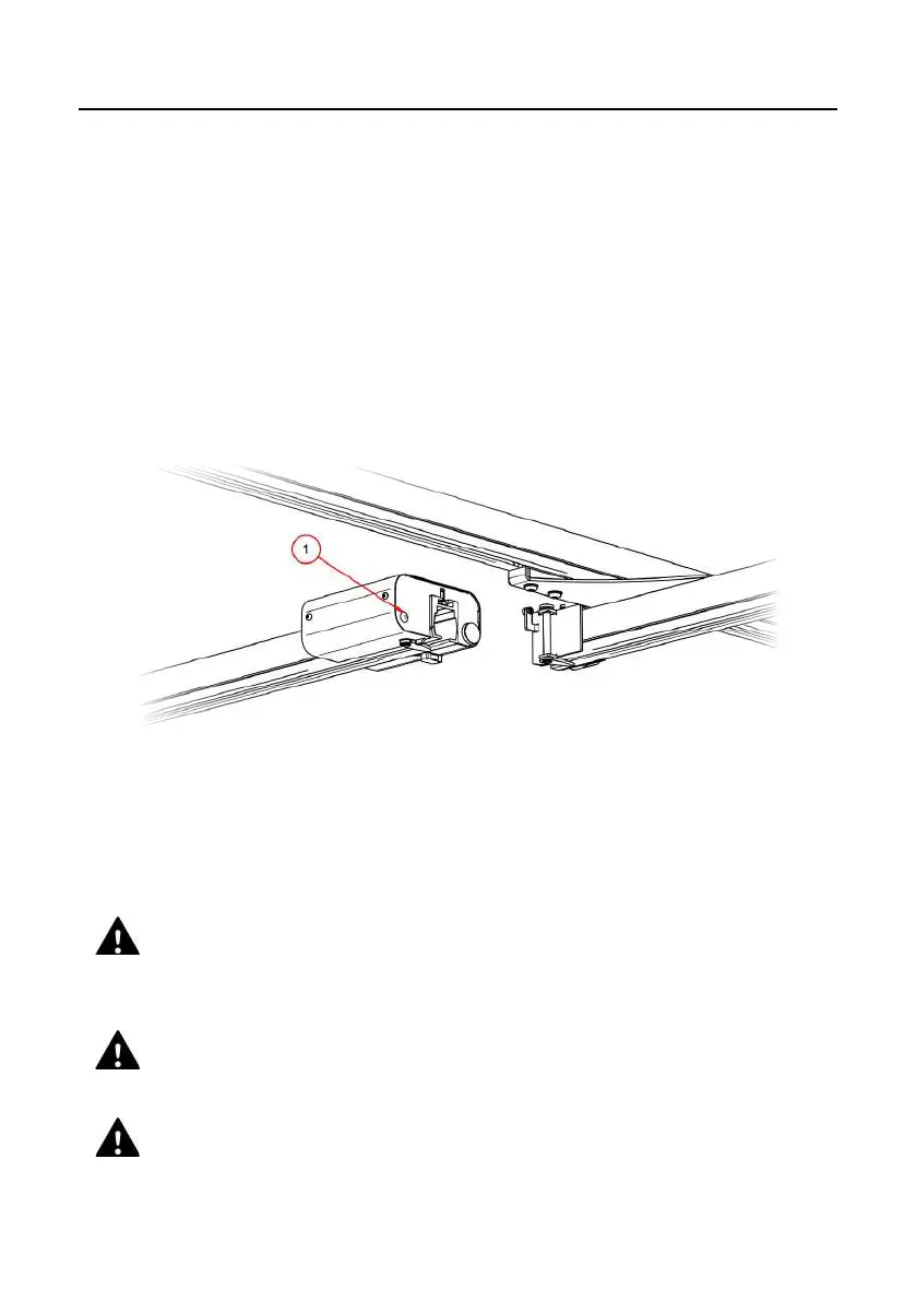
6.3. TransitCoupling(oponal)
If your rail system is ed with an XY system, you can connect the movable
rail to the rest of the track. You do this with a Transit Coupling (Figure 16).
1. Slide the movable rail level with the xed rail.
2. Gently move the Ceiling Hoist towards the Transit Coupling unl
the status light (1) turns red.
3. Aer 1 second, the Transit Coupling will automacally make the
connecon between the movable and xed rails.
4. Upon connecon, the status light (1) will turn green.
5. You can now safely move the Ceiling Hoist o the movable rail.
When you want to move the Ceiling Hoist from the xed rail back to the
movable rail, the Transit Coupling will automacally uncouple so that you can
use the XY system again.
Keep a safe distance during turn, switch and Transit Coupling
events. This way, moving parts are protected. The distance
depends on the distributors sengs.
Only move the movable rail when the Ceiling Hoist is in the
movable rail.
There may never be more than one Ceiling Hoist in an XY
system at any one me.
Figure 16, Transit Coupling

Related product manuals