EasyManua.ls Logo

Probewell MT-1/WT3 - Form 6 S (36 S, 46 S) Fitzall Tm (y 3 CT)

Probewell MT-1/WT3
84 pages
Print Icon
To Next Page IconTo Next Page
To Next Page IconTo Next Page
To Previous Page IconTo Previous Page
To Previous Page IconTo Previous Page
Loading...
Probewell Lab Inc.
Page 64
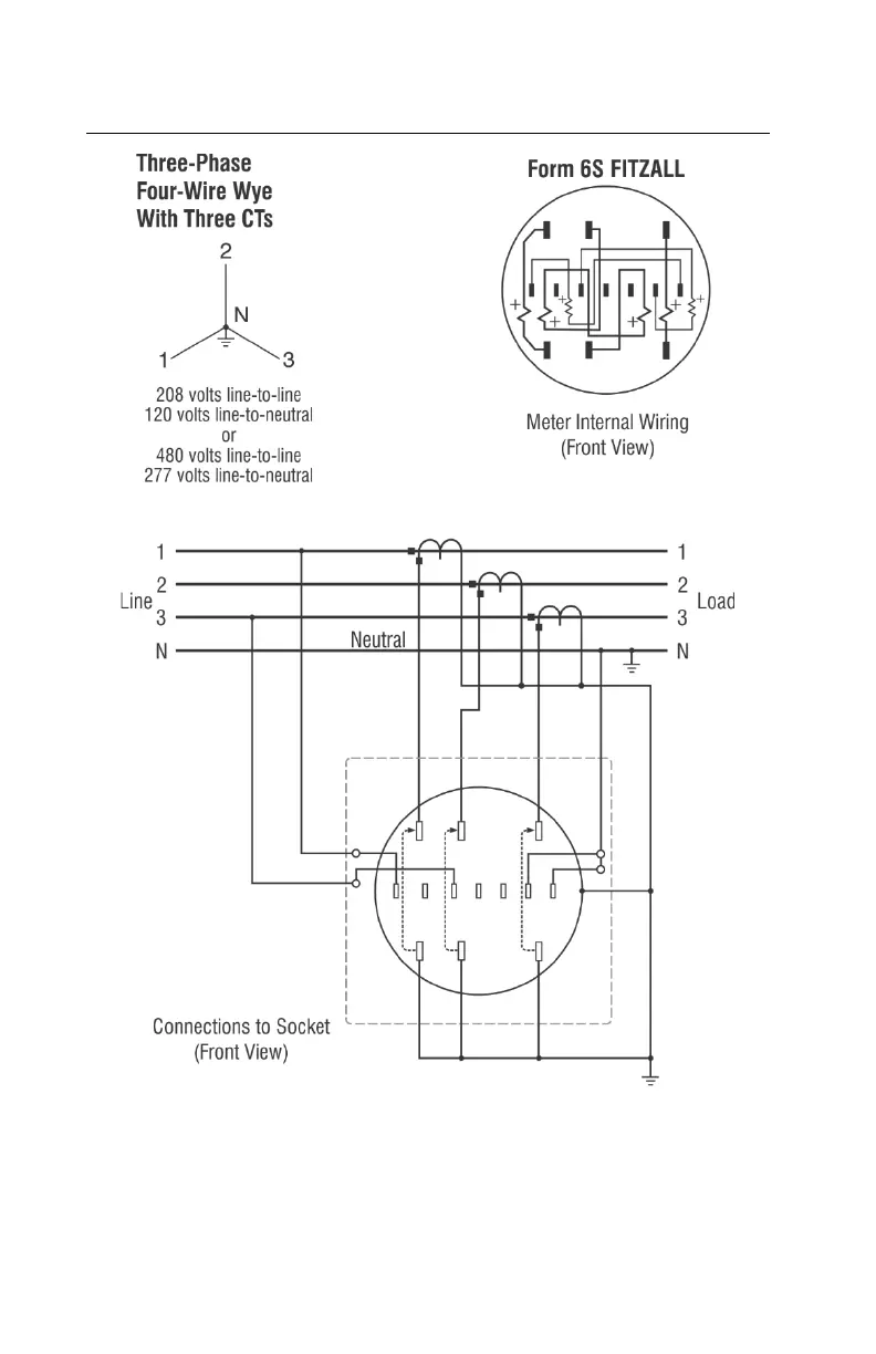
Form 6S (36S, 46S) Fitzall
tm
(Y 3CT)
Caution: Never open a circuit-closing device if current is flowing in the CT primary.
Serious personal injury may result.

Table of Contents