EasyManua.ls Logo

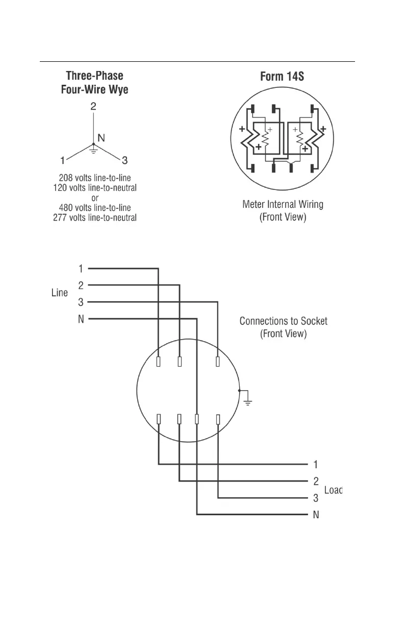
Probewell MT-1/WT3 - Form 14 S (4 Y)S

Probewell MT-1/WT3
84 pages
Print Icon
To Next Page IconTo Next Page
To Next Page IconTo Next Page
To Previous Page IconTo Previous Page
To Previous Page IconTo Previous Page
Loading...
Probewell Lab Inc.
Page 72
Form 14S (4Y)s

Table of Contents