EasyManua.ls Logo

Probewell MT-1/WT3 - Form 9 S (4 3 CT)

Probewell MT-1/WT3
84 pages
Print Icon
To Next Page IconTo Next Page
To Next Page IconTo Next Page
To Previous Page IconTo Previous Page
To Previous Page IconTo Previous Page
Loading...
MT-1/WT3 User Guide
Page • 67
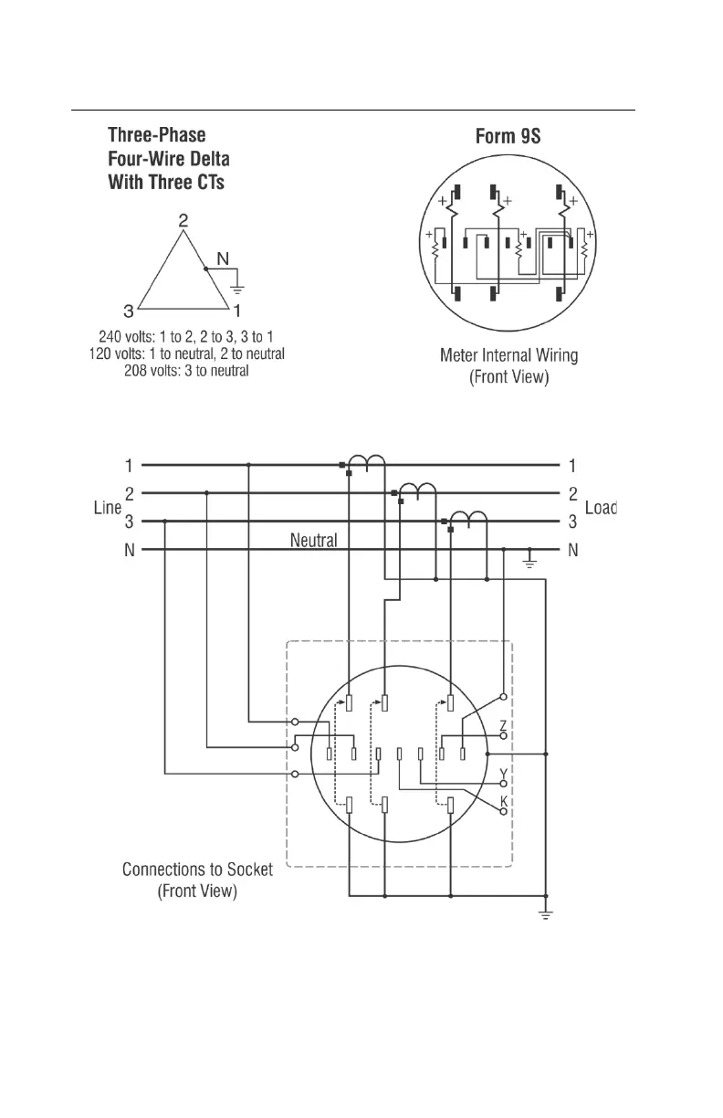
Form 9S (43CT)
Caution: Never open a circuit-closing device if current is flowing in the CT primary.
Serious personal injury may result.

Table of Contents