EasyManua.ls Logo

Raven SCS 360 - REPLACEMENT PARTS LISTS

Default Icon
32 pages
Print Icon
To Next Page IconTo Next Page
To Next Page IconTo Next Page
To Previous Page IconTo Previous Page
To Previous Page IconTo Previous Page
Loading...
16
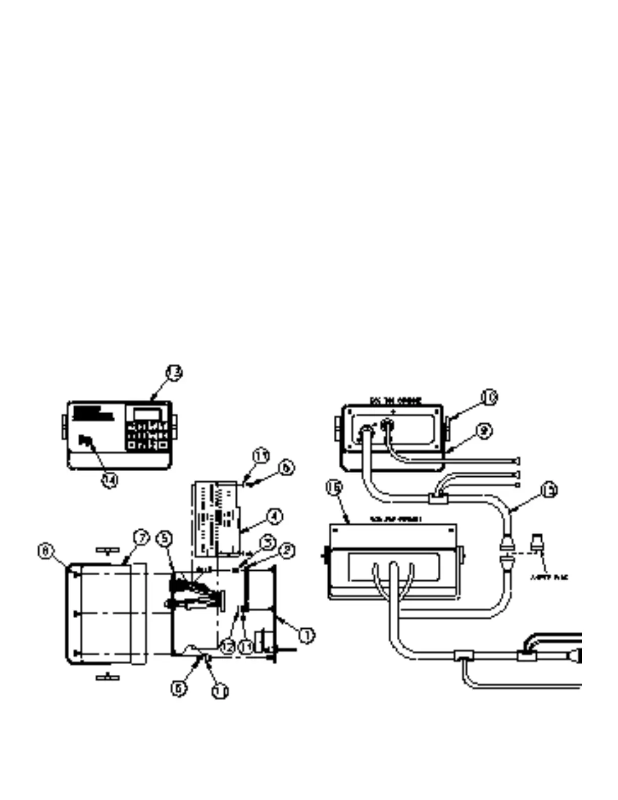
SCS 360 REPLACEMENT PARTS
ITEM DESCRIPTION RAVEN PART #
1 Faceplate Assembly 063-0171-165
2 Display P.C. Assembly 064-0159-535
3 Spacer, Threaded 305-2540-625
4 Processor P.C. Assembly 064-0159-544
5 Connector Plate Assembly 063-0171-167
6 Screw, 6-32 UNC x 5/16 in. 311-0004-008
7 Enclosure w/ Inserts 063-0171-135
8 Screw, 6-32 UNC 321-0000-085
9 Mounting Bracket 107-0159-007
10 Knob 309-1000-006
11 Internal Lock Washer 313-3000-007
12 Hex Nut 312-1001-014
13 SCS 360 Console 063-0171-164
14 Off/Man/Auto Switch 412-2011-052
15 Console Control Cable (2 ft.) 115-0159-737
16 SCS 212 Console 063-0171-169

Related product manuals