EasyManua.ls Logo

Riello RL 28 - Instalación Eléctrica

Riello RL 28
52 pages
Print Icon
To Next Page IconTo Next Page
To Next Page IconTo Next Page
To Previous Page IconTo Previous Page
To Previous Page IconTo Previous Page
Loading...
8
INSTALACIÓN ELÉCTRICA
INSTALACIÓN ELÉCTRICA de fábrica
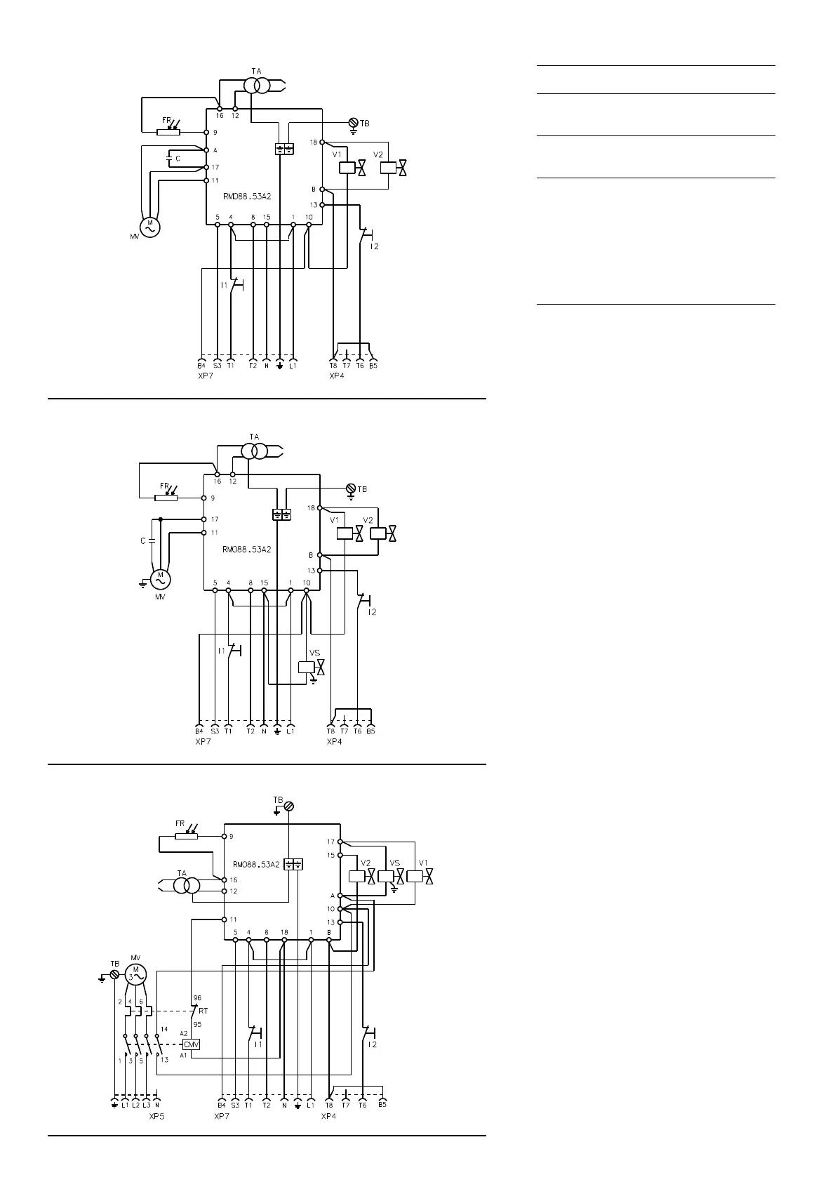
ESQUEMA (A)
Quemador RL 28 (monofásico)
ESQUEMA (B)
Quemador RL 38 (monofásico)
ESQUEMA (C)
Quemador RL 38 - 50 (trifásico)
Los modelos RL 38 trifásicos y RL 50, salen
de fábrica previstos para una alimentación
eléctrica a 400 V.
Si la alimentación es a 230 V, cambiar el
conexionado del motor (de estrella a trián-
gulo) y la regulación del relé térmico.
Leyenda esquema (A) - (B) - (C)
C - Condensador
CMV - Contactor motor
FR - Fotorresistencia
I1 - Interruptor: marcha/paro que-
mador
I2 - Interruptor: 1ª - 2ª llama
MV - Motor ventilador
RMO88.53A2 - Caja de control
RT - Relé térmico
TA - Transformador de encendido
TB - Conexión a tierra quemador
V1 - Electroválvula 1ª llama
V2 - Electroválvula 2ª llama
VS - Electroválvula de seguridad
XP4 - Conector hembra de 4 contac-
tos
XP5 - Conector hembra de 5 contac-
tos
XP7 - Conector hembra de 7 contac-
tos
NOTA
Si fuese necesario tener el dispositivo de
rearme a distancia, conectar un pulsador (NA)
entre el borne 3 y el Neutro de la caja de control
(bornes 15, 16, 17 y 18).
RL 28
(A)
CONEXIONADO ELÉCTRICO DE FÁBRICA
RL 38
CONEXIONADO ELÉCTRICO DE FÁBRICA
(B)
RL 50
CONEXIONADO ELÉCTRICO DE FÁBRICA
(C)
20083053
20083051
20083052

Table of Contents

Related product manuals