EasyManua.ls Logo

Riello RL 28 - Instalação Eléctrica

Riello RL 28
52 pages
Print Icon
To Next Page IconTo Next Page
To Next Page IconTo Next Page
To Previous Page IconTo Previous Page
To Previous Page IconTo Previous Page
Loading...
8
INSTALAÇÃO ELÉCTRICA
INSTALAÇÃO ELÉCTRICA
de fábrica
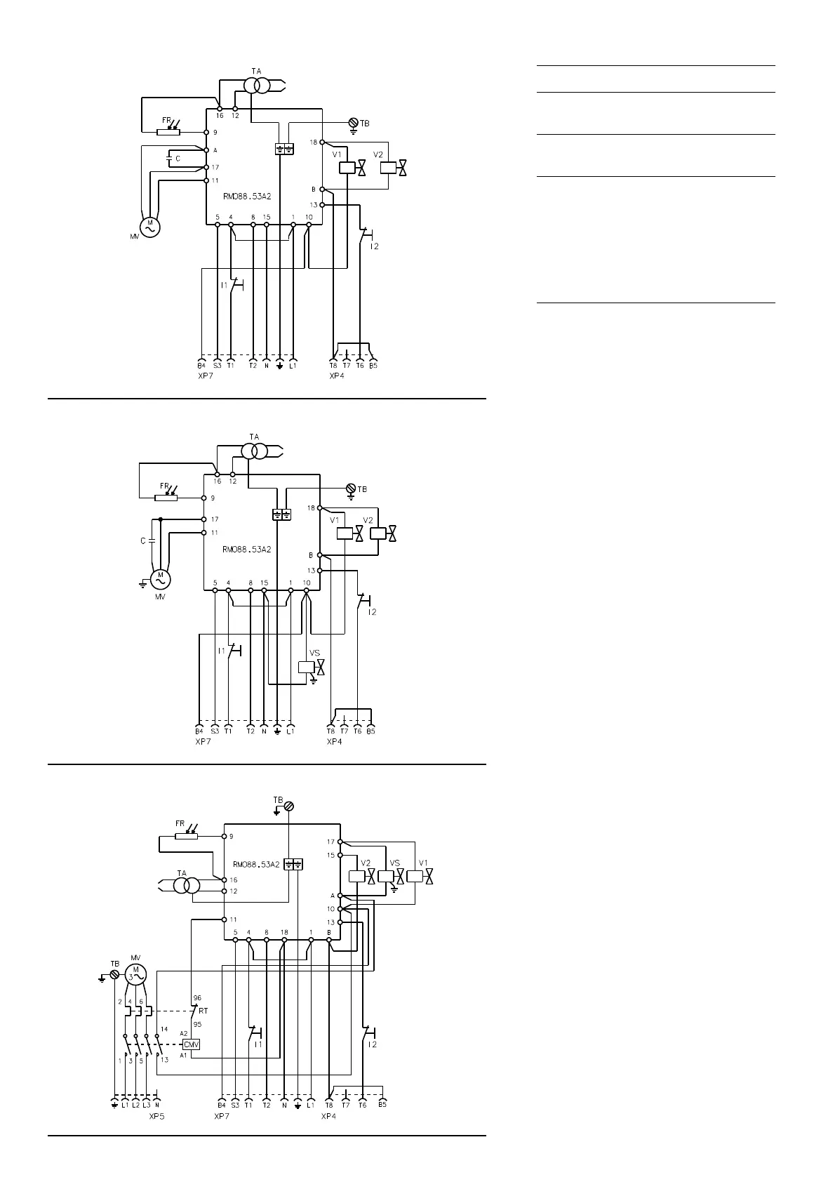
ESQUEMA (A)
Queimador RL 28 (monofásico)
ESQUEMA (B)
Queimador RL 38 (monofásico)
ESQUEMA (C)
Queimador RL 38 - 50 (trifásico)
Os modelos RL 38 trifásicos e RL 50, saem de
fábrica previstos para uma corrente eléctrica a
400 V
.
Se a alimentação for de
230 V
, alterar a liga-
ção do motor (de estrela a triângulo) e a regu-
lação do relé térmico
.
Legenda esquema (A) - (B) - (C)
C - Condensador
CMV - Contactor motor
FR - Fotorresistência
I1 -
Interruptor: arranque/paragem
queimador
I2 - Interruptor: 1ª - 2ªchama
MV - Motor ventilador
RMO88.53A2 - Caixa de controlo
RT - Relé térmico
TA - Transformador de acendimento
TB - Ligação terra do queimador
V1 - Electroválvula 1ª chama
V2 - Electroválvula 2ª chama
VS - Electroválvula de segurança
XP4 - Tomada de 4 pólos
XP5 - Tomada de 5 pólos
XP7 - Tomada de 7 pólos
NOTA
Caso seja necessário ter o dispositivo de
rearme à distância, ligar um botão (NA) entre o
borne 3 e o Neutro da caixa de controlo (bornes
15, 16, 17 e 18).
RL 28
(A)
LIGAÇÃO ELÉCTRICA DE FÁBRICA
RL 38
LIGAÇÃO ELÉCTRICA DE FÁBRICA
(B)
RL 50
LIGAÇÃO ELÉCTRICA DE FÁBRICA
(C)
20083053
20083051
20083052

Table of Contents

Related product manuals