EasyManua.ls Logo

Rinnai SPLIT SOLAR - Page 31

Rinnai SPLIT SOLAR
68 pages
Print Icon
To Next Page IconTo Next Page
To Next Page IconTo Next Page
To Previous Page IconTo Previous Page
To Previous Page IconTo Previous Page
Loading...
Rinnai Australia - 29 - Solar Split Systems Operating / Installation Manual Version 9 - 21/11/12
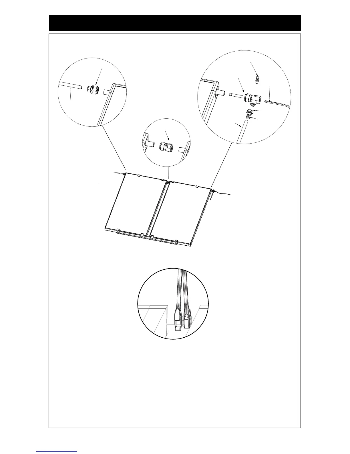
Figure 30 - Collector Fitting Details (E-Frost Collectors)
AIR BLEED
VALVE
HOT
SENSOR
LEAD
HOT SENSOR
SHEATH
1/2" NUT
1/2" OLIVE
RETURN PIPE
SUPPLIED BY
INSTALLER
COMPRESSION
UNION
When connecting collectors to other
collectors or to other copper pipe
with compression unions, ensure
that the compression union is held
in two points as shown in the picture.
One side should be held still
while the other side is tightened.
Not doing this can cause damage
to the collector.
1/2" TO 3/4"
UNION
PIPE SUPPLIED
COLD FLOW
BY INSTALLER
HEADER PIPE MUST BE AT TOP TO
ENSURE COLLECTOR OPERATION
INSTALLATION OF SOLAR COLLECTORS

Table of Contents

Related product manuals