EasyManua.ls Logo

Robin FL-H7500 - Page 26

Robin FL-H7500
64 pages
Print Icon
To Next Page IconTo Next Page
To Next Page IconTo Next Page
To Previous Page IconTo Previous Page
To Previous Page IconTo Previous Page
Loading...
25
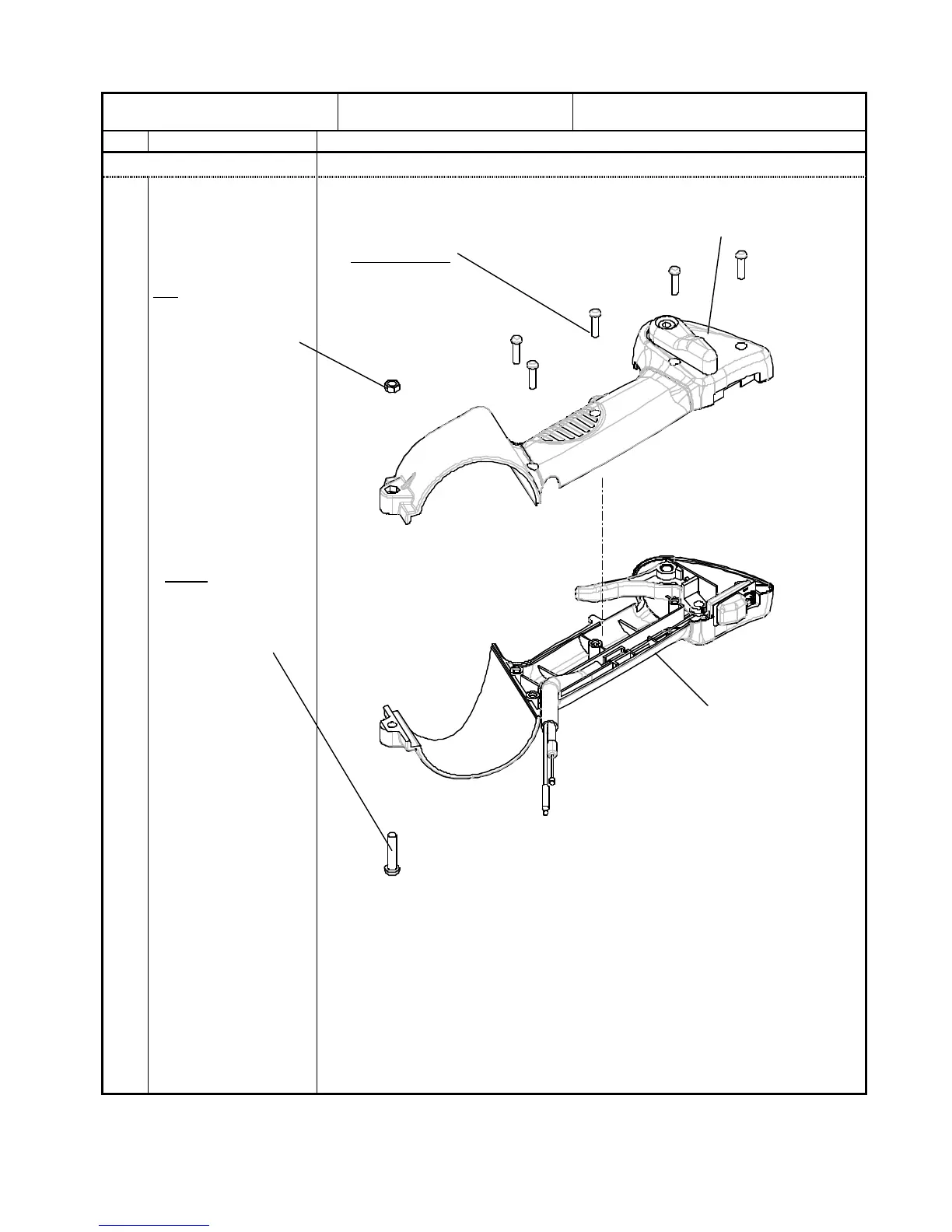
NO. Partname AssemblingInstructions
13-3
CASE1,LEVER
CASE2,LEVER
(1) Join the CASE 2,LEVER (fitted in according to no.13-1) and CASE 1,LEVER (fitted in
accordingtono.13-2)together.
TAPPINGSCREW
4*16(5PCS)
Tighteningtorque58kgfcm
CASE2,LEVER
SCREW
M5*25(1PCS)
Usedtotightenthelever
ontheSWIVELPIPE
(seeno.14).
CASE1,LEVER
NUT
M5(1PCS)
Usedtotightentheleveronthe
SWIVELPIPE(seeno.14).

Related product manuals