EasyManua.ls Logo

Robin RGD500 - Page 15

Robin RGD500
62 pages
Print Icon
To Next Page IconTo Next Page
To Next Page IconTo Next Page
To Previous Page IconTo Previous Page
To Previous Page IconTo Previous Page
Loading...
5-34
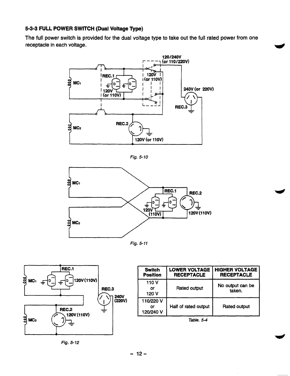
FULL
POWER
SWITCH
(Dual
Voltage
Type)
The full power switch is provided for the dual voltage type
to
take out the
full
rated power from one
receptacle in each
voltage.
I
Fig.
5-10
L
\
3 MCz
Fig.
5-11
/
w
Switch
RECEPTACLE RECEPTACLE Position
HIGHER
VOLTAGE
LOWER
VOLTAGE
110
v
1
lgv
I
Rated
output
No
output
can
be
taken.
1
1
om0
v
120/240
v
or
Rated
output
Half
of
rated
output
Table.
54
-
12
-

Related product manuals