EasyManua.ls Logo

Roger PRT12EM - Wiegand Formats; Magstripe Formats; RACS Format

Default Icon
54 pages
Print Icon
To Next Page IconTo Next Page
To Next Page IconTo Next Page
To Previous Page IconTo Previous Page
To Previous Page IconTo Previous Page
Loading...
PRTxxEM series readers Operating Manual.doc 2018-08-21
8/54
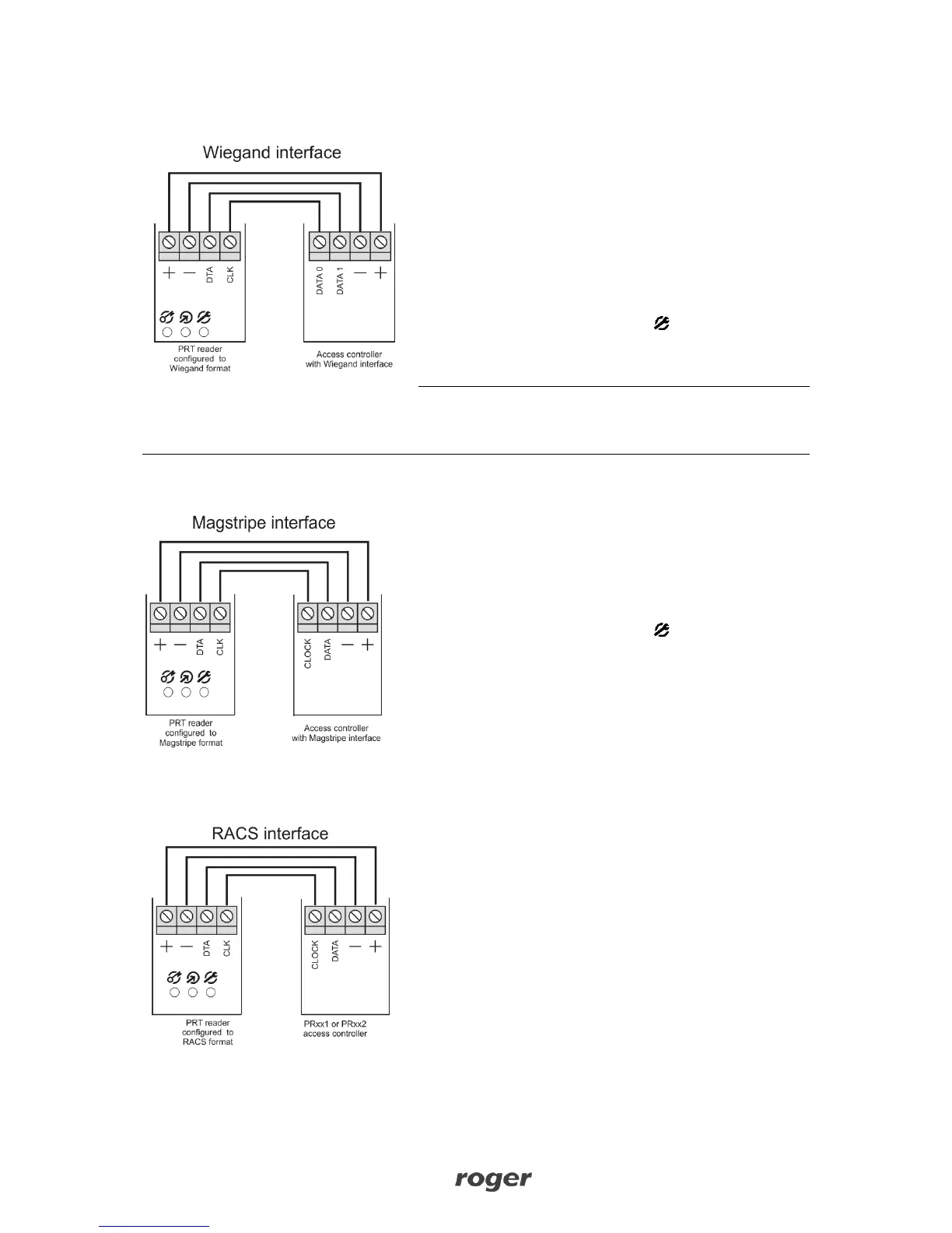
4.1.1. Wiegand Formats
When using Wiegand transmission format, data is
transmitted to the host via CLK and DTA lines. Depending
on the selected version of the transmission format, the
reader can send 26, 32, 34, 42 or 66 bits to the host. PIN
can be transmitted as a whole (when # key is pressed )
or each digit separately see section 7.
In Wiegand format all LED indicators and buzzer of the
reader can be controlled by IN1 and IN2 inputs. Both
inputs (IN1 and IN2) are triggered by shorting them to
supply minus. Input functions can be configured within
Memory Reset procedure or with RARC software. In
addition, whenever card is read or PIN is entered reader
activates momentary LED SYSTEM and buzzer.
Wiegand transmission is unidirectional and data is sent to
host device without receipt confirmation.
Note: For card codes which require more bits than the
number of bits available in the selected data transmission format, reader omits the most significant
bits (MSB-s) of the card code. As a result transmission from a reader is not equal to the full card
code.
4.1.2. Magstripe Formats
When using Magstripe transmission format, data is
transmitted to the host via CLK and DTA lines. In
Magstripe format all LED indicators and buzzer of the
reader can be controlled by IN1 and IN2 inputs. Both
inputs (IN1 and IN2) are triggered by shorting them to
supply minus. Input functions can be configured within
Memory Reset procedure or with RARC software. In
addition, whenever card is read or PIN is entered reader
activates momentary LED SYSTEM and buzzer.
Card code is always transmitted as a whole number (no
digits are lost) while PIN can be transmitted as a whole
(when # key is pressed ) or each digit separately see
section 7.
4.1.3. RACS Format
When using RACS format, the PRTxxEM reader
communicates with the access controller via CLK/DTA
lines. Unlike in the Wiegand and Magstripe formats, the
PRTxxEM unit using RACS format requires an individual
address (ID=0…3) to be set during configuration of
reader’s operating mode (Memory Reset procedure or
RARC software). In RACS format, communications
between the PRTxxEM reader and the host is bidirectional
which allows the controller to monitor the communication.
The reader’s LED-s and the buzzer are controlled by the
host unit. When all LED-s are flashing it indicates that
reader lost communication with the host unit.
When in RACS mode triggering of the IN1 disables
reading of the card and keypad. This input can be used
for temporary disabling of the reader. The IN2 is not used
in RACS mode. PIN is transmitted as a whole when # key
is pressed.

Table of Contents

Other manuals for Roger PRT12EM

Related product manuals