EasyManua.ls Logo

Roland RG-3 - Changing the Volume Balance of the Layered Tones (Layer Balance)

Roland RG-3
124 pages
Print Icon
To Next Page IconTo Next Page
To Next Page IconTo Next Page
To Previous Page IconTo Previous Page
To Previous Page IconTo Previous Page
Loading...
54
Chapter 3. Performance
Changing the Volume Balance of the Layered
Tones (Layer Balance)
Some tones enable you to perform with two tones layered together. These
are called “Layer tones.”
When you select a Layer tone, you can also change the balance in the volume
of the two Layer tones.
1.
Press the [Function] (Exit) button so the indicator is lit.
2.
Press the [Song] (Select -) button or [ ] (Select +) button to
display the BALANCE screen.
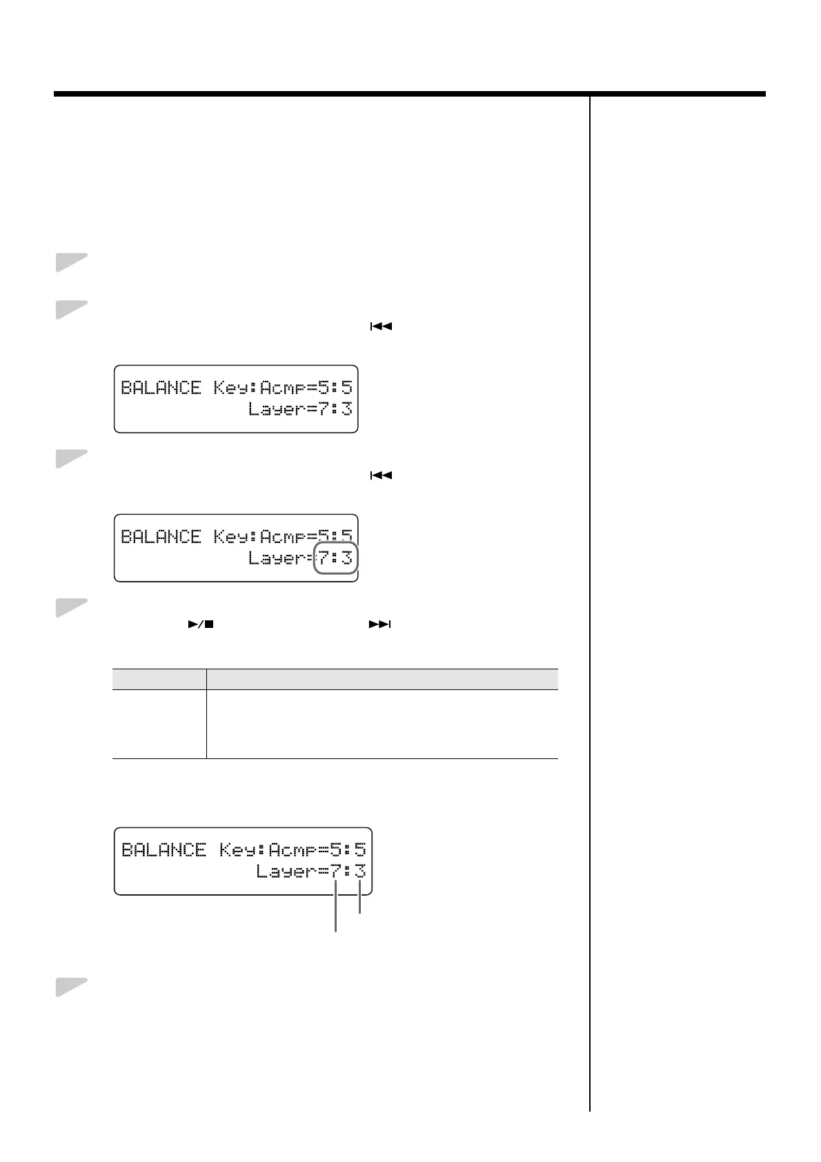
fig.03-030d
3.
Press the [Song] (Select -) button or [ ] (Select +) button to get
the value for “Layer” to flash.
fig.03-040d
4.
Press the [ ] (Value -) button or [ ] (Value +) button to
adjust the volume balance.
Example:
When Natural Grand+Str (Natural Grand Piano + Strings) are selected as the tones
fig.03-050d
5.
Press the [Function] (Exit) button so the indicator goes out.
Value description
1: 9–9: 1
The volume increases as the value is raised.
The numeral on the left indicates the tone’s original volume lev-
el, and the number on the right indicates the volume of the tone
as played with the other Layer tone.
Volume level of Strings
Volume level of Natural Grand (Natural Grand piano)

Table of Contents

Related product manuals