EasyManua.ls Logo

Roland RG-3 - Changing the Timing of Sounds According to the Force Used to Press the Keys (Hammer Response)

Roland RG-3
124 pages
Print Icon
To Next Page IconTo Next Page
To Next Page IconTo Next Page
To Previous Page IconTo Previous Page
To Previous Page IconTo Previous Page
Loading...
56
Chapter 3. Performance
Changing the Timing of Sounds According to the
Force Used to Press the Keys (Hammer Response)
This adjusts how your playing strength will affect the timing at which the
note sounds. This is called the “Hammer Response” function.
On an acoustic piano, pressing a key moves a hammer, which strikes a string
to produce sound. If you press the key softly, the hammer will move slowly,
meaning that it will take slightly longer (in comparison to a strongly-played
note) from the moment you press the key until the sound is produced.
If the Hammer Response function is turned on, the time between the
moment you press a key until the sound is heard will change depending on
the strength with which you play. As you play more softly, this time will
become longer.
1.
Press the [Function] (Exit) button, getting its indicator to light.
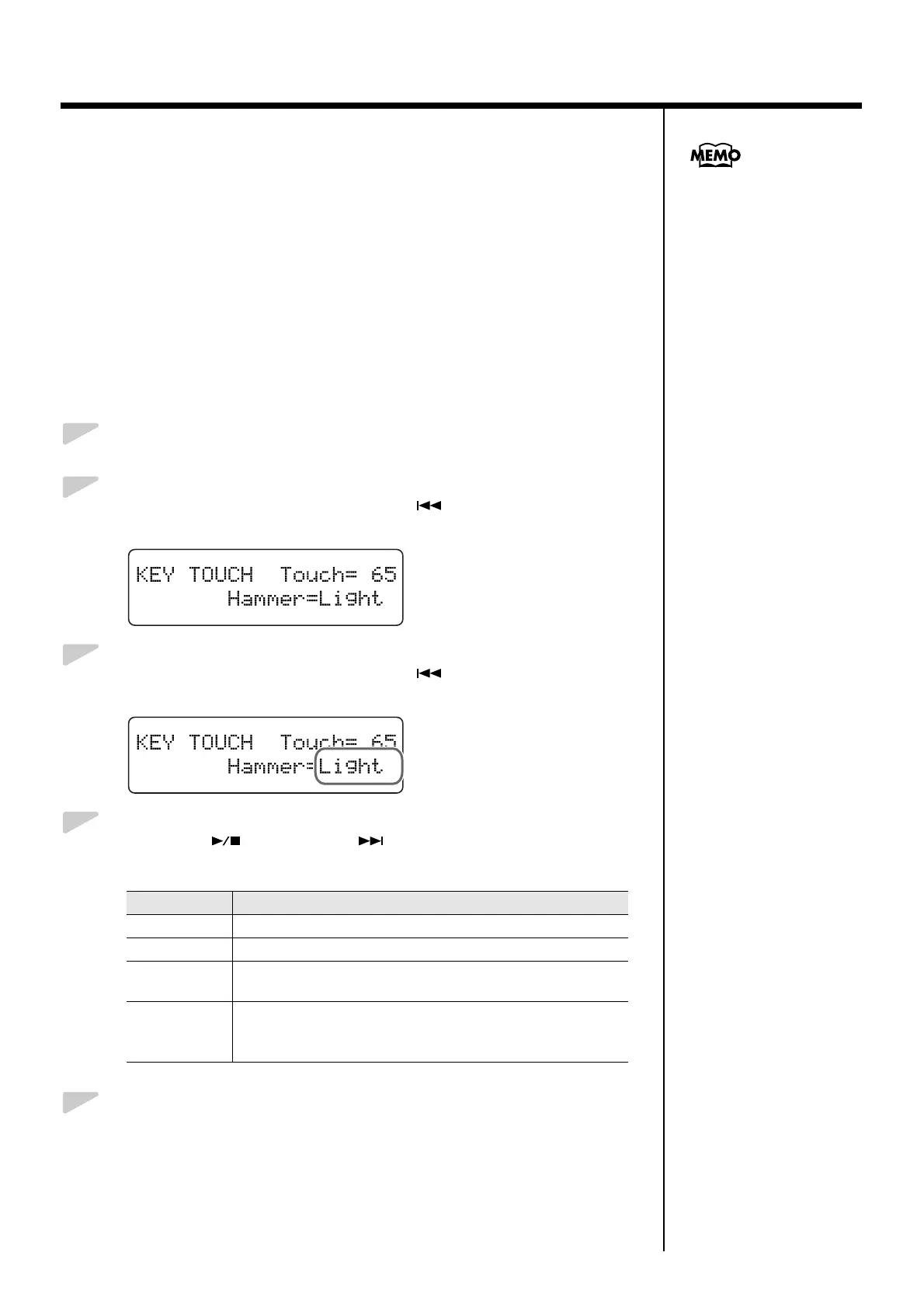
2.
Press the [Song] (Select -) button or [ ] (Select +) button to
display the KEY TOUCH screen.
fig.03-060d
3.
Press the [Song] (Select -) button or [ ] (Select +) button to get
the value for “Hammer” to flash.
fig.03-090d
4.
Press the [ ] (Value -) or [ ] (Value +) button to change the
value.
5.
Press the [Function] (Exit) button so the indicator goes out.
Value Description
Light The response is faster when the keys are pressed gently.
Medium The regular timing is used when the keys are pressed gently.
Heavy
The timing of the sounds is delayed when the keys are pressed
gently.
Off
The Hammer Response function is cancelled.
The sound is played immediately, regardless of the force with
which the keys are played (velocity).
You can save this setting in
the RG-3’s memory using the
Memory Backup function
(p. 73).

Table of Contents

Related product manuals