EasyManua.ls Logo

RS PRO IPM 3600N - Single-Phase 3-Wire (1 P3 W) Power System Measurement

RS PRO IPM 3600N
40 pages
Print Icon
To Next Page IconTo Next Page
To Next Page IconTo Next Page
To Previous Page IconTo Previous Page
To Previous Page IconTo Previous Page
Loading...
3 Phase Power Analyser / EN
09/30/16 Version No. 00 20
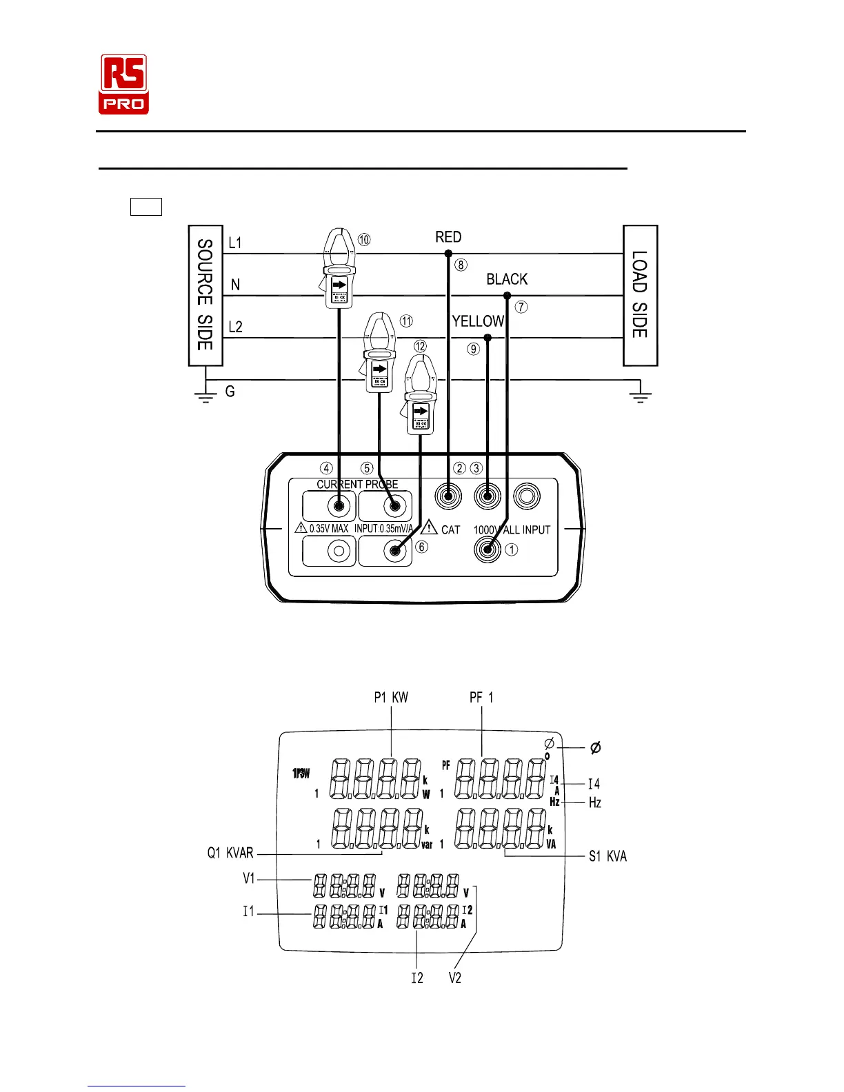
5-3 Single-Phase 3-Wire (1P3W) Power System Measurement
L1, L2 : Phase 1, Phase 2, N : Neutral, G : Ground
Face the current probe arrows toward the load
I3 I4
I1 I2
N
U2U1
U3
Figure 7. 1P3W Wiring Connection Diagram
Note: U1 must be connected to the voltage source during the measurement of U2, I1 and I2,
because U1 is the main signal source of the whole instrument measuring system.
P
U1
Q
U2
S
Figure 8. 1P3W General Display

Related product manuals