EasyManua.ls Logo

SAME SILVER 100.6 - Checking End-Float of the PTO Clutch Front Shaft

Default Icon
470 pages
Print Icon
To Next Page IconTo Next Page
To Next Page IconTo Next Page
To Previous Page IconTo Previous Page
To Previous Page IconTo Previous Page
Loading...
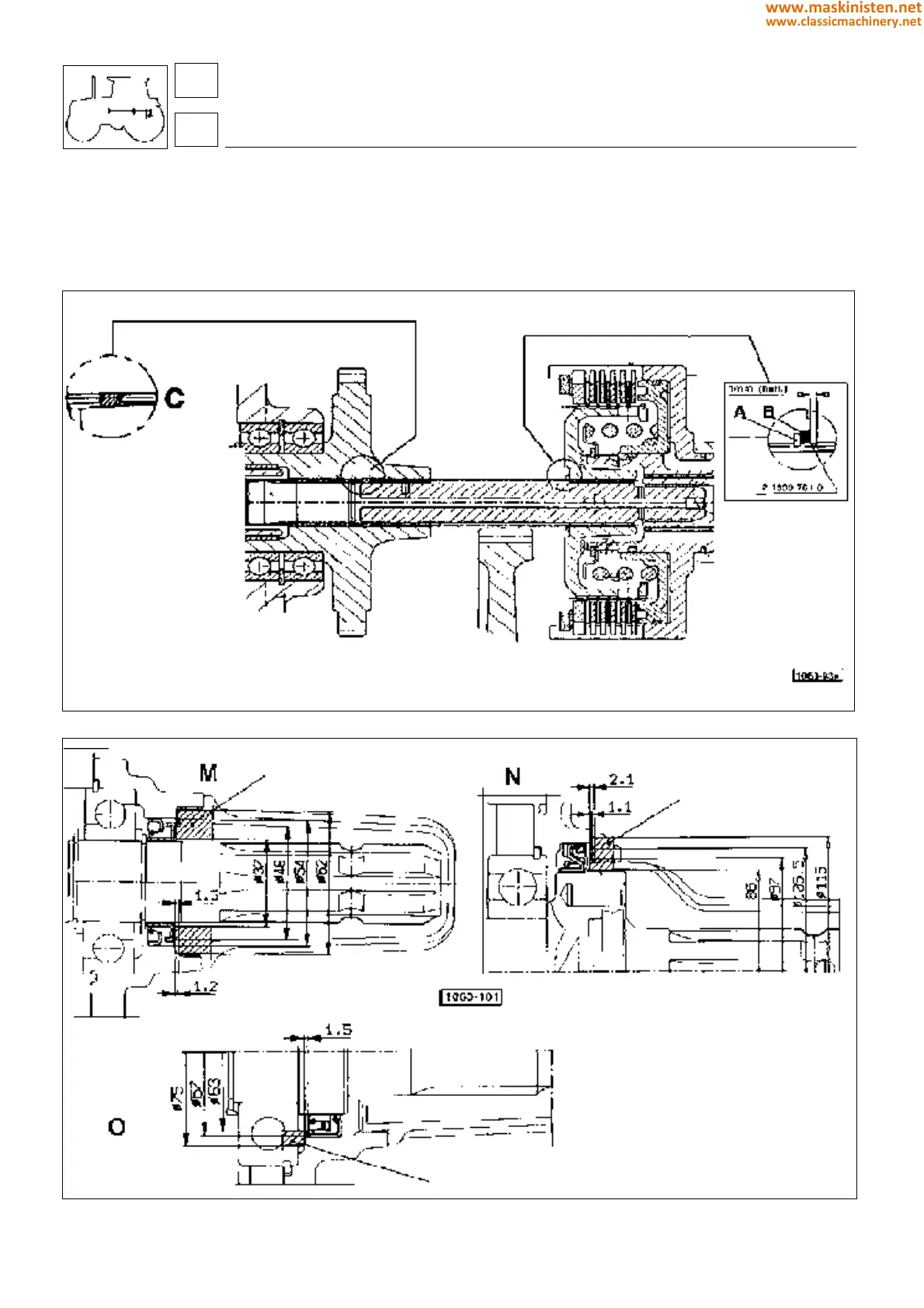
Checking end float on the front shaft of the P.T.O. clutch
Fit circlip A and thrust washer B p/n 2.1599.761.0 to the front shaft of the P.T.O.; locate the shaft in the clutch assembly
and push toward the forward end of the tractor until fully against the seal as indicated in Fig C, then verify that the
distance between the washer B and the clutch hub is not less than 1 mm.
If the end float measured is less than 1 mm, remove washer B.
Fig. 15 - Checking end float on the front shaft of the P.T.O. clutch.
Fig. 16 - Fitment of waterproof seals.
Fitting waterproof seals
M - Live P.T.O. shaft
N - P.T.O. with interchangeable shaft
O - P.T.O. with fixed shaft
The seals are fitted using a special sea-
ting tool. Position the ring as indicated
and press home until the tool locates.
The dimensions illustrated are for fabrica-
tion of the tool.
transmission
power take-off
outline plug
outline plug
outline plug
36
3
176
www.maskinisten.net
www.classicmachinery.net

Table of Contents

Related product manuals